Краткие
технические данные:
- Материал корпуса:
йодированная сталь.
- Материал штока: нержавеющая
сталь.
- Варианты присоединения: радиальное,
осевое, с пружинной для крепления на трубе.
- Диаметры корпуса: 63;
80; 100; 150 мм.
- Длины штока: 46; 64; 100; 150;
200; 250; 300 мм.
- Диапазоны температур: -70…+600
C.
- Погрешность: ±1,5, ±2,5 %.
- Съемная
латунная гильза с резьбой G1/2 (нар) поставляется с прибором.
Общие сведения:
Биметаллический
термометр ТБ-рос предназначен для измерений температуры жидких и
газообразных сред.
Область применения:
- водоснабжение,
-
теплоснабжение.
- вентиляция
- кондиционирование
Технические параметры:
-
Чувствительный элемент: биметаллическая
спираль.
- Температура окружающей среды: -40…
+ 60°C.
- Материал корпуса: йодированная сталь,
кроме 63 мм радиальное присоединение – сталь, крашенная черного цвета.
- Стекло: инструментальное
стекло.
- Уплотнение: витон.
-
Циферблат: алюминий.
- Стрелка: алюминий.
- Диаметры корпуса: 63;
80; 100; 150 мм.
- Кольцо: байонетное.
- Степень защиты: IP 54.
- Варианты
присоединения: радиальное,
осевое, осевое с пружинной для крепления на трубе.
- Материал
штока: нержавеющая
сталь.
- Длины штока: 46; 64; 100; 150; 200; 250;
300 мм.
- Материал гильзы: латунь;
нержавеющая сталь (заказ).
- Резьба присоединения:
G1/2(нар); M20?1.5(нар) (заказ);
- Стандартные диапазоны
измерения температуры: -40…+60,
-30…+70, 0…+60; 0…+100, 0…+120, 0…+160, 0…+200; 0…+250; 0…+350; 0…+450
°C.
- Погрешность: 80; 100; 150 – 1.5 %;
63 – 2.5 %.
- Максимальное давление на латунной гильзе: 25
бар.
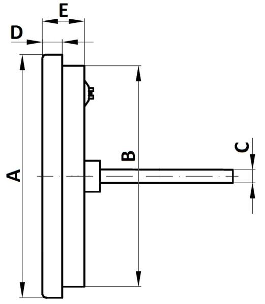
Габаритные и присоединительные
размеры:
- Радиальное присоединение:

|
Диаметр
корпуса:
|
A
|
B
|
C
|
D
|
E
|
F
|
Вес, гр
|
|
63
|
69
|
63
|
6
|
11
|
8
|
38
|
150
|
|
100
|
110
|
100
|
6
|
15
|
10
|
50
|
310
|
- Осевое
присоединение:
|
Диаметр
корпуса:
|
A
|
B
|
C
|
D
|
E
|
Вес, гр
|
|
63
|
63
|
-
|
6
|
-
|
10
|
130
|
|
80
|
81
|
74
|
6
|
9
|
18
|
170
|
|
100
|
107
|
99
|
6
|
9
|
18
|
210
|
|
150
|
161
|
148
|
6
|
16
|
20
|
470
|
- Защитная
гильза из латуни:

|
A
|
B
|
C
|
S
|
|
46; 64; 100; 100; 150; 200; 250
|
10
|
10
|
19
|
- Осевое присоединение с
пружинной для крепления на трубе:
Пример оформления заказа:
Тип прибора, марка: ТБ-рос.
Диаметр корпуса: 63;
80; 100; 150.
Тип присоединения: - радиальное:
Р;
- осевое (тыльное): Т;
- осевое с пружинной
для крепления на трубе: 30.010.
Длина погружной части: 46;
64; 100; 150; 200; 250; 300.
Диапазоны измерения температуры: -40…+60,
-30…+70, 0…+60; 0…+100, 0…+120, 0…+160, 0…+200; 0…+250; 0…+350; 0…+450
°C.
Резьба присоединения: G1/2(нар);
M20?1.5(нар) (заказ).
Погрешность: 1.5
%; 2.5 %.
Примеры:
ТБ-рос 100Т/46 (0…+120 С) G1/2, 1.5
ТБ-рос 100Р/100 (0…+160 С) G1/2, 1.5
ТБ-рос 63Т/46 (0…+120 С) G1/2, 2.5
ТБ-рос 80Т/100 (-40…+60 С) G1/2, 1.5
ТБ-рос 30.010 (0…+120 С) 2.5
ТБ-рос 30.010 (0…+60 С) 2.5