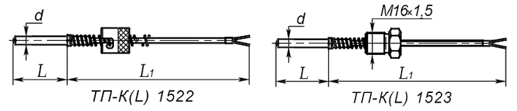
Термоэлектрические преобразователи в
металлических защитных чехлах модификаций ТП-К(L) 1522
ТП предназначены для измерения температуры пластических масс
в термопластавтоматах, литьевых и прессовых машинах, а также для
измерения температуры жидких, газообразных и твердых тел, не
разрушающих материал защитного чехла.

Технические характеристики ТП
|
Параметр |
Значение |
|
Диапазон рабочих температур, ºС |
-40 ÷ 400 |
|
Материал защитного чехла |
12Х18Н10Т |
|
Диапазон условных давлений,
МПа |
0,1 |
|
Класс допуска |
1 или 2 |
|
Рабочий спай |
1 или 2 |
|
Наружный диаметр, мм |
3,0; 4,0; 4,6; 5,0; 6,0 |
Показатель тепловой инерции ТП
|
Вид рабочего спая |
Показатель тепловой
инерции, сек.
(для диаметра d), мм |
|
3,0 |
4,0 |
4,6 |
5,0 |
6,0 |
|
Изолированный |
2,0 |
3,0 |
3,0 |
4,0 |
5,0 |
|
Неизолированный |
1,5 |
2,0 |
2,0 |
3,0 |
4,0 |
Перечень исполнений термопреобразователей типа ТП-К, ТП-L
|
Моди- фикация |
Диаметр D, мм |
Количество рабочих спаев |
Длина монтажной части, ℓ мм |
|
6 |
10 |
32 |
69 |
80 |
100 |
120 |
160 |
200 |
250 |
320 |
|
1522 |
3,0; 4,0; 5,0; 6,0 |
1 |
+ |
+ |
+ |
+ |
+ |
+ |
+ |
+ |
+ |
+ |
+ |
|
1522[2] |
4,6; 6,0 |
2 |
+ |
+ |
+ |
+ |
+ |
+ |
+ |
+ |
+ |
+ |
+ |
|
1523 |
3,0; 4,0; 5,0; 6,0 |
1 |
+ |
+ |
+ |
+ |
+ |
+ |
+ |
+ |
+ |
+ |
+ |
|
1523[2] |
4,6; 6,0 |
2 |
+ |
+ |
+ |
+ |
+ |
+ |
+ |
+ |
+ |
+ |
+ |
Условное обозначение:
ТП-Х 1522[х]-И(Н)-d- L / L1 или ТП-Х
1523[х]-И(Н)-d- L / L1
Пример записи при заказе:
ТП-К 1523-И-6-20/2000 - термопреобразователь
градуировки К (хромель-алюмель), с защитным чехлом из
стали 12Х18Н10Т (15), модификации 09, с
изолированным (И) рабочим спаем, наружным диаметром
(d) 6 мм, монтажной длины (L) 20 мм, с
компенсационными проводами длиной (L1) 2000 мм.
Без дополнительного указания термопреобразователи
поставляются по 2 классу точности.
|