Датчик давления ЭЛЕМЕР-100

Назначение
Датчики давления ЭЛЕМЕР-100 предназначены для непрерывного
преобразования значений избыточного давления (ДИ), разрежения (ДВ), избыточного
давления-разрежения (ДИВ), абсолютного давления (ДА), разности давлений (ДД) и
гидростатического давления (ДГ, уровень) жидких и газообразных, в том числе
агрессивных, сред, газообразного кислорода и кислородосодержащих газовых смесей
в унифицированный выходной токовый сигнал и (или) цифровой сигнал на базе
HART-протокола, или цифровой сигнал на базе интерфейса RS-485 с
протоколом обмена Modbus.
Датчики используются в системах автоматического контроля,
регулирования и управления технологическими процессами.
Датчики моделей 1133, 1233, 1143, 1243, 1153, 1533, 1543
предназначены для работы в различных отраслях промышленности, в том числе
в пищевой (материалы, контактирующие с измеряемой средой —
сталь 12Х18Н10Т, сплав 36НХТЮ).
Датчики разности давлений могут
использоваться в устройствах, предназначенных для преобразования значения
уровня жидкости, расхода жидкости,
пара или газа в унифицированный токовый выходной сигнал, цифровой
сигнал на базе HART-протокола и цифровой сигнал на базе интерфейса RS-485.
Датчики предназначены для работы во взрывобезопасных и
взрывоопасных условиях. Взрывозащищенные датчики с видом взрывозащиты
"взрывонепроницаемая оболочка" имеют обозначение ЭЛЕМЕР-100Вн, взрывозащищенные
с видом взрывозащиты "искробезопасная электрическая цепь" имеют обозначение
ЭЛЕМЕР-100Ех.
Основные характеристики
-
6 или 8 диапазонов измерения давления (в
зависимости от модели): датчики являются многопредельными и настраиваются на
верхний предел измерений или диапазон измерений от PBMIN до PBMAX
(см. раздел "Диапазоны измерений и метрологические характеристики"). Датчики
могут быть настроены на верхний предел измерений или диапазон измерений по
стандартному ряду давлений ГОСТ 22520-85 или на верхний предел или диапазон
измерений, отличающийся от стандартного. При выпуске
предприятием-изготовителем датчик настраивается (датчики с кодом предела
допускаемой основной погрешности 010, 015) или программируется (датчики с
кодом предела допускаемой основной погрешности 025, 050) на верхний предел
измерений, выбираемый в соответствии с заказом из ряда значений, указанных в
разделе "Диапазоны измерений и метрологические характеристики". Настройка
датчика на нестандартный верхний предел измерений выполняется по
взаимосогласованному заказу. Допускается по согласованию с заказчиком
поставлять датчики, настраиваемые на меньшее количество верхних пределов
измерений, при этом в паспорте должна быть отметка о настраиваемых пределах
измерений;
-
Отношение значения максимального верхнего предела к
минимальному — 10:1 или 25:1 (в зависимости от модели);
-
Основная погрешность — от 0,1 %;
-
Выходные сигналы — 0...5 мА, 0...20 мА, 4...20 мА, HART,
Modbus (в зависимости от типа электронного преобразователя);
-
Датчики всех исполнений имеют
линейно-возрастающую или линейно-убывающую
зависимость аналогового выходного сигнала от входной измеряемой величины
(давления);
-
Датчики разности давлений ЭЛЕМЕР-100-ДД, предназначенные
в соответствии с заказом для измерения расхода жидкости, газа или пара по
величине переменного перепада давления на сужающем устройстве трубопровода,
могут иметь зависимость аналогового выходного сигнала, пропорциональную
корню квадратному из значений входной измеряемой величины — перепада
давления;
-
Возможность настройки прибора на нестандартные диапазоны
измеряемых давлений;
-
Изменение времени усреднения выходного сигнала (демпфирование):
датчики имеют электронное демпфирование выходного сигнала, которое
характеризуется временем усреднения результатов измерения. Время усреднения
результатов измерения увеличивает время установления выходного сигнала,
сглаживая выходной сигнал при быстром изменении входного сигнала. Значение
времени выбирается из ряда 0,2; 0,5; 1,2; 2,5; 5; 10; 20; 30; 40 с и
устанавливается потребителем при настройке;
-
Удобный цифро-графический ЖК-индикатор с подсветкой;
-
Возможность плавного поворота индикатора на 330°;
-
Защита от обратной полярности питающего напряжения;
-
Электромагнитная совместимость (ЭМС) —
IV-A (см. раздел "Электромагнитная совместимость"):
Варианты исполнения
|
Вариант исполнения |
Вид взрывозащиты |
Уровень взрывозащиты |
Маркировка взрывозащиты |
Код при заказе |
|
Общепромышленное |
— |
— |
— |
— |
|
Взрывозащищенное |
"искробезопасная электрическая цепь" |
"особовзрывобезопасный" |
ЕхiaIIСТ5 Х |
Ex |
|
"взрывобезопасный" |
ЕхibIIСТ5 Х |
|
Взрывозащищенное |
"взрывонепроницаемая оболочка" |
"взрывобезопасный" |
1ExdsIIBT4/H2Х, 1ExdIIСT6 X |
Вн |
|
"специальный" |
Варианты электронного преобразователя
Коды исполнений датчика в зависимости от его электронного
преобразователя приведены в таблице:
|
Код |
Индикатор |
Крышка со стеклом |
Аналоговый выход |
Цифровой выход |
Описание электронного преобразователя |
|
МП |
+ |
— |
0...5 или 0...20 или 4...20 мА |
— |
Микропроцессорный без индикаторного устройства (с
крышкой без стекла) с выходным аналоговым сигналом постоянного тока
0...5 мА или 0...20 мА или 4...20 мА; для датчиков исполнения "Ех" —
только 4...20 мА. Микропроцессорный без индикаторного устройства (с
крышкой без стекла) с выходным аналоговым сигналом постоянного тока
0...5 мА или 4...20 мА и цифровым сигналом на базе HART- протокола. |
|
0...5 или 4...20 мА |
HART* |
|
МП1 |
+ |
+ |
0...5 или 0...20 или 4...20 мА |
HART* |
Микропроцессорный со встроенным индикаторным
устройством (с крышкой со стеклом) с выходным аналоговым сигналом
постоянного тока 0...5 мА или 0...20 мА или 4...20 мА, для датчиков
исполнения "Ех" — только 4...20 мА. |
|
МП2 |
+ |
— |
4...20 мА |
HART** |
Микропроцессорный без индикаторного устройства (с
крышкой без стекла) выходным аналоговым сигналом 4...20 мА и цифровым
сигналом на базе HART-протокола. |
|
МП3(Н) |
+ |
+ |
4...20 мА |
HART** |
Микропроцессорный со встроенным индикаторным
устройством (с крышкой со стеклом) с выходным аналоговым сигналом
4...20 мА и цифровым сигналом на базе HART-протокола. |
|
МП4 |
+ |
— |
— |
Modbus |
Микропроцессорный без индикаторного устройства (с
крышкой без стекла) с выходным цифровым сигналом на базе интерфейса
RS-485 с протоколом обмена Modbus. |
|
МП5(МВ) |
+ |
+ |
— |
Modbus |
Микропроцессорный со встроенным индикаторным
устройством (с крышкой со стеклом) с выходным цифровым сигналом на базе
интерфейса RS-485 с протоколом обмена Modbus. |
* — локальный HART-сигнал, только для настройки и/или
калибровки;
** — сетевой HART-сигнал.
Контроль, настройка параметров, выбор режима работы и
градуировка для кода электронного преобразователя МП производится при помощи
протокола HART. Датчики с цифровым сигналом на базе HART-протокола для кода
электронного преобразователя МП не предназначены для работы в сетевой версии.
Датчики с кодами исполнений МП4, МП5(МВ) с протоколом обмена
Modbus обеспечивают возможностью работы в сетевой версии.
Датчики с HART-протоколом (МП2, МП3) могут передать
информацию об измеряемой величине в цифровом виде по 2-проводной линии связи
вместе с сигналом постоянного тока 4...20 мА. Этот цифровой сигнал может
приниматься и обрабатываться любым устройством, поддерживающим протокол HART.
Цифровой выход используется для связи датчика с портативным ручным
HART-коммуникатором или с персональным компьютером через стандартный
последовательный порт и дополнительный HART-модем, при этом может выполняться
настройка датчика, выбор его основных параметров, перестройка диапазонов
измерений, корректировка "нуля" и ряд других операций. HART-протокол допускает
наличие в системе двух управляющих устройств: системы управления и ручного
коммуникатора. Эти два управляющих устройства имеют разные адреса и,
следовательно, датчик (МП2, МП3) может распознать и выполнить команды каждого из
них.
Таким образом, по 2-проводной линии связи передается два типа
сигналов — аналоговый сигнал 4...20 мА и цифровой сигнал на базе протокола HART,
который накладывается на аналоговый выходной сигнал датчика, не оказывая на него
влияния.
Исполнения по метариалам, контактирующим с
измеряемой средой
|
Обозначение исполнения датчика по материалам |
Материал |
Примечание |
|
мембраны |
деталей полостей, контактирующих с рабочей средой |
|
02 |
Сплав 36НХТЮ |
12Х18Н10Т |
Для датчиков гидростатического (ДГ) давления
фланцевого присоединения к процессу (кроме исполнения АС) |
|
AISI 316L |
12Х18Н10Т |
Для моделей 1050, 1150, 1350, 1060, 1160, 1170 |
|
05 |
AISI 316L |
AISI 316L |
Для моделей (ДД) 1420, 1430,1434,1440,1444, 1450,
1460, 1412, 1422,1432,1442 |
|
06 |
Хастеллой-С, заменитель ХН65МВ |
AISI 316L |
|
07 |
Тантал |
AISI 316L |
|
11 |
AISI 316L |
12Х18Н10Т |
Для моделей 1051, 1151, 1351. 1061, 1161, 1171 |
|
12 |
Al2O3 (керамика) |
12Х18Н10Т |
— |
-
Материал уплотнительных колец — резина марки НО 68-1
ТУ38.105.1082; в датчиках кислородного исполнения — резина марки ИРП-1136
ТУ38.005924;
-
Материал уплотнительных металлических прокладок —
нержавеющие сплавы;
-
Сталь 12Х18Н10Т — по ГОСТ 5632-70; титан — по ГОСТ 19807,
сплав 36НХТЮ — по ГОСТ 10994-74.
Клавиатура
Многофункциональный ЖК-индикатор с
подсветкой
Экран жидкокристаллического (ЖК) дисплея (индикатора) разбит
на несколько окон:
-
В центре экрана находится основное окно, в котором
отображаются значения измеряемых ЭЛЕМЕР-100 величин и вводимых или
редактируемых параметров;
-
Наверху экрана расположено окно ползункового индикатора,
которое отображает в графическом виде значение измеряемой величины;
-
В левом нижнем углу расположено окно состояния
ЖК-дисплея, в котором показывается режим работы последнего;
-
В правом нижнем углу расположено окно, в котором
показывается единица измерения величины, отображаемой в основном окне.
Электрическое питание ЭЛЕМЕР-100,
ЭЛЕМЕР-100Вн
Электрическое питание датчиков ЭЛЕМЕР-100, ЭЛЕМЕР-100Вн
осуществляется от источника постоянного тока напряжением, приведенным в таблице,
в зависимости от кода электронного преобразователя.
|
Наименование показателя |
Код электронного преобразователя |
|
МП, МП1 |
МП2, МП3 |
МП4, МП5 |
|
Выходной сигнал |
4...20 мА |
0...5 мА |
0...20 мА |
4...20 мА |
RS-485 |
|
Напряжение питания, В |
12...42 |
22...42 |
12...42 |
При этом пределы допускаемого нагрузочного сопротивления
(сопротивления приборов и линии связи) для датчиков с кодом МП, МП1, МП2, МП3
зависят от установленного напряжения питания датчиков и не должны выходить за
границы рабочей зоны, приведенной на рисунках:
|

Выходной сигнал 4...20 мА |

Выходной сигнал 0...5 мА |
Источник питания для датчиков с кодом МП, МП1, МП4, МП5 в
условиях эксплуатации должен удовлетворять следующим требованиям:
-
сопротивление изоляции не менее 20 МОм;
-
выдерживать испытательное напряжение при проверке
электрической прочности изоляции 1,5 кВ;
-
пульсация выходного напряжения не превышает 0,5 % от
номинального значения выходного напряжения при частоте гармонических
составляющих, не превышающей 500 Гц;
-
прерывание питания не более 20 мс (кроме датчиков с кодом
МП4, МП5).
Источник питания для датчиков с кодом МП2, МП3 в условиях
эксплуатации должен удовлетворять вышеприведенным требованиям по сопротивлению
изоляции и пульсации выходного напряжения при частоте гармонических составляющих
до 500 Гц и иметь среднеквадратичное значение шума в полосе частот от 500 Гц до
1 кГц — не более 2,2 мВ
Электрическое питание ЭЛЕМЕР-100Ex
Электрическое питание датчиков ЭЛЕМЕР-100Ех с кодом МП, МП1
осуществляется от искробезопасных цепей барьеров (блоков), имеющих вид
взрывозащиты "искробезопасная электрическая цепь" с уровнем взрывозащиты "ia"
или "ib" подгруппы IIC по ГОСТ Р 51330.10-99, при этом максимальное выходное
напряжение барьеров U0 ≤ 28 В, максимальный выходной ток I0
≤ 93 мА
Электрическое питание датчиков ЭЛЕМЕР-100Ех с кодом МП2, МП3
осуществляется от барьеров искрозащиты, имеющих вид взрывозащиты "искробезопасная
электрическая цепь" с уровнем взрывозащиты "ia" или "ib" подгруппы IIC по ГОСТ Р
51331.10-99 и пропускающих HART-сигнал.
При использовании датчиков ЭЛЕМЕР-100Ех вне взрывоопасных зон
без сохранения свойств взрывозащищенности электрическое питание датчиков
допускается осуществлять от источника питания постоянного тока напряжением,
указанням для датчиков ЭЛЕМЕР-100 и ЭЛЕМЕР-100Вн.
Гальваническая развязка
Датчики с кодом МП4, МП5 имеют гальваническую развязку между
цепями питания и линиями цифрового интерфейса RS-485. Датчик выдерживает
разность потенциалов между цепями питания и линиями цифрового интерфейса 500 В в
течение одной минуты.
Параметры нагрузки
Допускаемые нагрузочные сопротивления датчиков давления
ЭЛЕМЕР-100:
|
Код электронного преобразователя |
Выходной сигнал, мА |
Сопротивление нагрузки |
|
Rmin, Ом |
Rmax, Ом |
|
МП, МП1 |
0...5 |
0 |
Rmax ≤ 100(U–10) |
|
0...20 |
0 при U ≤ 36 В
R*min ≥ 50(U–36) при U > 36 В |
Rmax ≤ 45(U–14) |
|
МП, МП1, МП2, МП3 |
4...20 |
0* при U ≤ 36 В
R*min ≥ 50(U–36) при U > 36 В |
Rmax ≤ 42(U–12) |
-
* — Для датчиков с HART-сигналом Rmin = 250 Ом
при напряжении питания от 18,5 до 41 В;
-
При использовании датчиков ЭЛЕМЕР-100Ех во взрывоопасных
условиях выходное сопротивление барьеров (блоков) искрозащиты должно
выбираться из рабочей зоны, приведенной на рисунке ниже, при напряжении
питания не выше 24 В. При использовании HART-канала датчиков МП2, МП3
минимальное выходное сопротивление блока искрозащиты должно быть не менее
250 Ом;
-
U — напряжение питания, В.
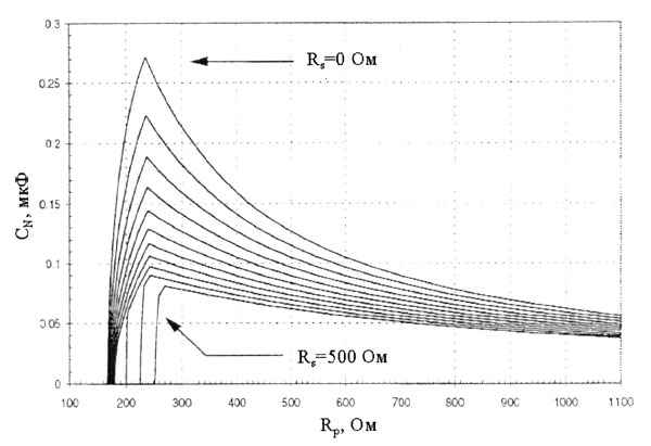
Рисунок.
Допустимая суммарная емкость нагрузки и линии связи для
датчиков с кодом МП2, МП3, в зависимости от сопротивления нагрузки и
сопротивления линии связи (последовательное сопротивление), приведена на
рисунке:

График показан с дискретностью 50 Ом;
Rp — параллельное сопротивление всех подключенных приборов;
Rs — последовательное сопротивление линии, включая сопротивление
проводов, барьера искрозащиты и другие;
CN — полная емкость сети.
Потребляемая мощность
-
0,5 Вт — для датчиков с выходным сигналом 0...5 мА;
-
0,8 Вт — для датчиков с выходным сигналом 4...20 мА;
-
1,0 Вт — для датчиков с выходным сигналом 0...20 мА;
-
2,5 Вт — для датчиков с выходным сигналом RS-485.
Климатические исполнения
Датчики ЭЛЕМЕР-100 устойчивы к воздействию атмосферного
давления от 84,0 до 106,7 кПa (группа Р1 ГОСТ 12997-84).
Датчики в зависимости от климатического исполнения по
ГОСТ 15150-69 устойчивы к воздействию температуры окружающего воздуха,
приведенной в таблице:
|
Вид климатического исполнения по ГОСТ 15150-69 |
Значение температуры воздуха при эксплуатации, °С |
|
УХЛ 3.1 |
+5...+50 |
|
У2 |
–40*...+70 |
|
Т3 |
–25**...+70 |
|
ТС1 |
–10...+70 |
|
ТВ1 |
+1...+70 |
|
ТМ1 |
+1...+70 |
-
* — от –50 °С по специальному требованию заказчика;
-
* — от –10 °С для моделей 1420, 1112, 1212, 1312, 1412
кислородного исполнения;
-
* — от –25 °С для моделей 1150, 1160, 1170, 1350, 1430,
1434, 1440, 1444, 1450, 1460, 1050, 1060 кислородного исполнения;
-
** — от –10 °С для моделей 1420, 1112, 1212, 1312, 1412
кислородного исполнения.
Датчики исполнения УХЛ3.1, У2 по ГОСТ 15150-69 устойчивы к
воздействию относительной влажности окружающего воздуха (95+3) % при температуре
+35 °С и более низких температурах без конденсации влаги.
Датчики исполнения Т3, ТС1, ТВ1, ТМ1 по ГОСТ 15150-69
устойчивы к воздействию относительной влажности окружающего воздуха 100 % при
температуре +35 °С (+25 °С — датчики исполнения ТС1) и более низких температурах
с конденсацией влаги.
Устойчивость к механическим воздействиям
По устойчивости к механическим воздействиям датчики
соответствуют:
-
виброустойчивому исполнению L3 по ГОСТ 12997-84 — для
моделей 1110, 1210, 1310, 1410, 1112, 1212, 1312, 1412;
-
виброустойчивому исполнению V2 по ГОСТ 12997-84 — для
моделей 1051, 1050, 1061, 1060, 1151, 1150, 1161, 1160, 1171, 1170, 1351,
1350, 1152, 1153, 1162, 1172, 1173;
-
виброустойчивому исполнению V1 по ГОСТ 12997-84 — для
остальных моделей.
Степень защиты от воздействия пыли и воды
Степень защиты датчиков от воздействия пыли и воды
соответствует группе IP65 по ГОСТ 14254-96.
Средняя наработка на отказ
Средняя наработка на отказ датчика с учетом технического
обслуживания, регламентируемого настоящим руководством по эксплуатации
НКГЖ.406233.029РЭ, составляет 150000 ч для всех исполнений датчиков.
Средний срок службы
Средний срок службы датчиков — 12 лет, кроме датчиков,
эксплуатируемых при измерении агрессивных сред, срок службы которых зависит от
свойств агрессивной среды, условий эксплуатации и применяемых материалов.
Гарантийный срок эксплуатации
5 лет (7 лет — для приборов в атомном исполнении).
|