Термопреобразователи
ТХА-0297-00С, ТХА-0297-02С
ТХА-0297-01, ТХА-0297-03

Измеряемые среды
Газовые потоки больших (до 300 м/с) скоростей при наличии на объекте вибраций и
ударных воздействий – синусоидальных вибраций частотой 10...400 Гц при амплитуде
ускорения до 49 м/с2, с амплитудой смещения до 0.35 мм (область применения -
теплоэнергетика, газовая промышленность и другое).
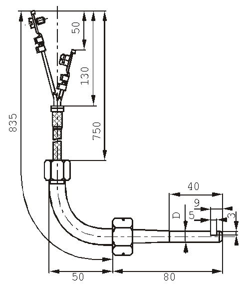
Диапазон измерения:
0...+1000°С (t ном.=+750°С).
Номинальные статические характеристики
К (по ГОСТ Р8.585).
Класс допуска
Чувствительного элемента - 2 (по ГОСТ 6616).
Основная погрешность измерения
±3.25°С,от 0 до 300°С;±0.01 t(*), от 300 до 1000°С.
Устойчивость к внешним воздействиям
По устойчивости к механическим воздействиям: вибропрочное группа F3 по ГОСТ
12997.
По устойчивости к температуре и относительной влажности окружающего воздуха: С4
по ГОСТ 12997 (для обыкновенного и экспортного исполнения), Т3 по ГОСТ 15150
(для тропического исполнения).
Ресурс, часов (при t изм.=t ном.), - не менее 20000 ч.
|