Перейти на главную страницу сайта

 

ВКВ

 
Сделать заказ >>>
bline.gif (87 bytes)

 Поиск в каталоге:
 
ВКВ Кабельные вводы / Фильтры и запорная арматура / Каталог продукции

Кабельные вводы ВКВ

Кабельные вводы ВКВКабельные вводы серии ВКВ обеспечивают взрывобезопасное подсоединение четырех видов кабелей с различными видами механической защиты в соответствии с ГОСТ Р 51330 0-99 и Р 51330 1-99 – взрывонепроницаемая оболочка и имеют соответствующую маркировку 1ЕхdIIC. Степень защиты от влияния окружающей среды IP67 по ГОСТ 14254 (МЭК 529-89).

Мы предлагаем 4 вида кабельных вводов:

  • ВКВ 040 – для монтажа кабеля без дополнительной оболочки

  • ВКВ 051 –для монтажа кабеля в трубе

  • ВКВ 060 – для монтажа кабеля в металлорукаве

  • ВКВ 070 – для монтажа кабеля в броне

Штуцерная часть с соответствующими присоединительными резьбами одинакова для всех четырех типов ВКВ, одинаковы также размеры уплотнительного резинового кольца для данного диапазона диаметров кабеля (Dк=6…10, 10…13, и т.д.). Уплотнительное кольцо брони также имеет 4 типоразмера, при этом, следует соблюдать совместимость Dk и dбр для ВКВ 070.

ВКВ 040

ВКВ 051

ВКВ 060

ВКВ 070

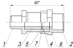
Кабельные вводы для монтажа кабеля без дополнительной оболочки 


 

1. Штуцер
2. Гайка накидная
3. Кольцо уплотнения кабеля
4. Втулка
5. Шайба
6. Заглушка
7. Шильд

 


 

Dk 6-10

М16х1.5

М18х1.5

М20х1.5

М25х1.5

М27х1.5

ВКВ 040.00

ВКВ 040.00-01

ВКВ 040.00-02

ВКВ 040.00-03

ВКВ 040.00-04 


 

Dk 10-13

М16х1.5

М18х1.5

М20х1.5

М25х1.5

М27х1.5

ВКВ 040.00-05

ВКВ 040.00-06

ВКВ 040.00-07

ВКВ 040.00-08

ВКВ 040.00-09


 

Dk 13-16

Dk 16-20

М20х1.5

М25х1.5

М27х1.5

М25х1.5

М27х1.5

ВКВ 040.00-10

ВКВ 040.00-11

ВКВ 040.00-12

ВКВ 040.00-13

ВКВ 040.00-14


В Таблице представлена только метрическая резьба, по заказу возможно выполнение других видов резьб: G, NPT, R, при этом следует иметь в виду, что диаметры этих резьб должны быть ближайшими к метрической, например:

G1/4 ″ М18*1,5
NPT1/2 ″ M20*1,5


 

1. Штуцер
2. Гайка накидная
3. Кольцо уплотнения кабеля
4. Втулка
5. Шайба
6. Заглушка
7. Шильд
 


 

Dk 6-10

М16х1.5

М18х1.5

М20х1.5

М25х1.5

М27х1.5

ВКВ 051.00

ВКВ 051.00-01

ВКВ 051.00-02

ВКВ 051.00-03

ВКВ 051.00-04


 

Dk 10-13

М16х1.5

М18х1.5

М20х1.5

М25х1.5

М27х1.5

ВКВ 051.00-05

ВКВ 051.00-06

ВКВ 051.00-07

ВКВ 051.00-08

ВКВ 051.00-09


 

Dk 13-16

Dk 16-20

М20х1.5

М25х1.5

М27х1.5

М25х1.5

М27х1.5

ВКВ 051.00-10

ВКВ 051.00-11

ВКВ 051.00-12

ВКВ 051.00-13

ВКВ 051.00-14


В Таблице представлена только метрическая резьба, по заказу возможно выполнение других видов резьб: G, NPT, R, при этом следует иметь в виду, что диаметры этих резьб должны быть ближайшими к метрической, например:

G1/4 ″ М18*1,5
NPT1/2 ″ M20*1,5


 

1. Штуцер
2. Гайка накидная
3. Кольцо уплотнения кабеля
4. Втулка
5. Шайба
6. Заглушка
7. Шильд


 

Dk 6-10

Для РЗ-Ц-12

М16х1.5

М18х1.5

М20х1.5

М25х1.5

М27х1.5

ВКВ 060.00

ВКВ 060.00-01

ВКВ 060.00-02

ВКВ 060.00-03

ВКВ 060.00-04


 

Dk 10-13

Для РЗ-Ц-15

М16х1.5

М18х1.5

М20х1.5

М25х1.5

М27х1.5

ВКВ 060.00-05

ВКВ 060.00-06

ВКВ 060.00-07

ВКВ 060.00-08

ВКВ 060.00-09


 

Dk 13-16

Для РЗ-Ц-18

Dk 16-20

Для РЗ-Ц-22

М20х1.5

М25х1.5

М27х1.5

М25х1.5

М27х1.5

ВКВ 060.00-10

ВКВ 060.00-11

ВКВ 060.00-12

ВКВ 060.00-13

ВКВ 060.00-14


В таблице номиналов указаны рекомендуемые к применению металлорукава, изготовленные в соответствии с ТУ 4833-008-00239971-2001.

В Таблице представлена только метрическая резьба, по заказу возможно выполнение других видов резьб: G, NPT, R, при этом следует иметь в виду, что диаметры этих резьб должны быть ближайшими к метрической, например:

G1/4 ″ М18*1,5
NPT1/2 ″ M20*1,5


 

1. Штуцер
2. Гайка накидная
3. Кольцо уплотнения кабеля
4. Шайба
5. Кольцо уплотнения брони
6. Гайка
7. Конусное кольцо
8. Кольцо
9. Заглушка
10. Шильд
 

 

Dk 6-10

dбр 13

М16х1.5

М18х1.5

М20х1.5

М25х1.5

М27х1.5

ВКВ 070.00

ВКВ 070.00-01

ВКВ 070.00-02

ВКВ 070.00-03

ВКВ 070.00-04

 

Dk 10-13

dбр 17

М16х1.5

М18х1.5

М20х1.5

М25х1.5

М27х1.5

ВКВ 070.00-05

ВКВ 070.00-06

ВКВ 070.00-07

ВКВ 070.00-08

ВКВ 070.00-09

 

Dk 13-16

dбр 20

Dk 16-20

dбр 25

М20х1.5

М25х1.5

М27х1.5

М25х1.5

М27х1.5

ВКВ 070.00-10

ВКВ 070.00-11

ВКВ 070.00-12

ВКВ 070.00-13

ВКВ 070.00-14

В Таблице представлена только метрическая резьба, по заказу возможно выполнение других видов резьб: G, NPT, R, при этом следует иметь в виду, что диаметры этих резьб должны быть ближайшими к метрической, например:

G1/4 ″ М18*1,5
NPT1/2 ″ M20*1,5


Заказать ВКВ Кабельные вводы

  Тел.(4812)386407, 386663, 387597. Факс(4812)385745
E-mail: mail@teploizmerenie.ru