Назначение
Реле уровня емкостные предназначены для контроля уровня
жидких (РУЕ-301-П и РУЕ-301-В) и сыпучих сред (РУЕ-301-В) в
технологических резервуарах, аппаратах, оборудовании, а
также для контроля положения подвижных элементов
технологических объектов и выдачи электрического сигнала при
достижении заданного фиксированного значения уровня.
Область применения - технологические объекты химической,
нефтехимической, пищевой, сельскохозяйственной, медицинской
и других отраслей промышленности.
Принцип действия
Реле уровня имеют чувствительный элемент в виде
вынесенных к активной поверхности пластин конденсатора.
Приближение объекта из любого материала к активной
поверхности ведет к изменению емкости конденсатора и к
переключению коммутационного элемента.
Исполнения
Реле выпускаются в восьми исполнениях:
| Исполнение |
Код
исполнения |
Способ
установки |
Диметр
отверстия
в емкости
для установки
погружного
реле, мм |
Контроли-
руемая
среда |
Состояние
контактов |
Схема
подклю-
чения |
Минималь-
ная длина
погружной
части, L, мм |
| проточное |
РУЕ-301-П-НЗ-1 |
на шунте |
_ |
жидкая |
нормально
замкнутые |
PNP
("-"общий) |
_ |
| РУЕ-301-П-НЗ-2 |
NPN
("+"общий) |
| РУЕ-301-П-НР-1 |
нормально
разомкнутые |
PNP
("-"общий) |
| РУЕ-301-П-НР-2 |
NPN
("+"общий) |
погружное
вертикальное |
РУЕ-301-В-НЗ-1 |
на фланце,
вертикально |
Д=42 |
жидкая, сыпучая |
нормально
замкнутые |
PNP
("-"общий) |
86 |
| РУЕ-301-В-НЗ-2 |
NPN
("+"общий) |
| РУЕ-301-В-НР-1 |
нормально
разомкнутые |
PNP
("-"общий) |
| РУЕ-301-В-НР-2 |
NPN
("+"общий) |
Примечание. Длина погружной части L для
РУЕ-301-В определяется заказчиком.
Технические характеристики
Параметры контролируемой среды:
- объект из любого материала с диэлектрической постоянной,
превышающей не менее, чем в 2 раза диэлектрическую
постоянную воздуха;
- жидкости не кристаллизующиеся, не выпадающие в осадок и не
загустевающие в условиях эксплуатации с параметрами:
давление - от 0 до 40 кгс/см2;
плотность - от 500 до 3000 кг/м3;
вязкость - до 0,5 Па·с для РУЕ-301-П и до 10 Па·с для
РУЕ-301-В;
твердые включения размером не более 1 мм;
объемная концентрация твердых включений не более 1,5%;
температура от минус 25°С до плюс 80°С.
Агрессивность среды не должна превышать химическую стойкость
стали 12Х18Н10Т ГОСТ 5632 и фторопласта Ф4 ГОСТ 24222.
Номинальное расстояние переключения реле Lном.
от 0 до 6 мм от активной поверхности реле, в зависимости от
величины диэлектрической постоянной Еr объекта
контроля.

Значения Еr для
отдельных материалов.
| Материал |
Еr |
Материал |
Еr |
Материал |
Еr |
| аммиак |
16 |
масло трансформаторное |
2,3 |
спирт этиловый |
26 |
| бумага |
2,3 |
мрамор |
8,3 |
стекло |
5 |
| бензол |
2,3 |
нефть |
2,2 |
стеклотекстолит |
5,5 |
| винипласт |
4 |
оргстекло |
3,2 |
тальк |
1,6 |
| вода |
80 |
полиамид |
5 |
текстолит |
7,5 |
| воздух |
1 |
полипропилен |
2,3 |
толуол |
2,4 |
| гетинакс |
7,5 |
полистирол |
3 |
цемент |
2 |
| дерево |
2...7 |
полиэтилен |
2,3 |
|
|
Погрешность срабатывания реле в нормальных условиях относительно
номинального расстояния переключения не превышает ±1,0 мм
при расстоянии переключения реле 3 мм.
Зона возврата реле не превышает 2 мм при расстоянии
переключения реле 3 мм.
Электрические параметры реле:
- индуктивность - не более 10 мкГн;
- емкость - не более 0,01 мкФ;
- сопротивление нагрузки - (2000±200) Ом.
Питание - от сети постоянного тока напряжением от 10 до 30 В
по двухпроводной линии связи.
Значения выходного тока реле:
- до момента достижения номинального расстояния срабатывания
- (6±2,5) мА для реле с НЗ и (1,4±0,7) мА для реле с НР;
- при достижении номинального расстояния срабатывания
(1,4±0,7) мА для реле с НЗ и (6±2,5) мА для реле с НР.
Предельная длина линии связи между реле и устройством,
обеспечивающим питание - не более 500 м.
Потребляемая мощность - не более 0,2 Вт.
Степень защиты оболочки от проникновения твердых тел и воды
- IP67 по ГОСТ 14254.
Масса реле - не более:
РУЕ-301-П - 0,6 кг,
РУЕ-301-В (при длине L=500 мм) - 1,2 кг.
Габаритные и присоединительные размеры реле приведены на
рис.1, 2.
Взрывозащищенность
Реле имеют маркировку взрывозащиты OExiaIICT5X,
соответствуют ГОСТ Р 51330.0-99 и ГОСТ Р 51330.10-99, и
могут быть установлены во взрывоопасных зонах помещений всех
классов и наружных установок согласно гл.7-3 "Правил
устройства электроустановок" ПУЭ, гл. ЭIII-13 ПТЭ и ПТБ, и
другим директивным документам, регламентирующим установку
электрооборудования во взрывоопасных зонах.
Реле соответствуют требованиям "Общих правил
взрывобезопасности для взрывопожароопасных химических,
нефтехимических и нефтеперерабатывающих производств" ПБ
09-170-97 и пригодны для использования в системах
противоаварийной автоматической защиты (ПАЗ).
Во взрывоопасных зонах помещений и наружных установок
питание реле напряжением (16±4)В постоянного тока
осуществляется от искробезопасных цепей барьеров (блоков),
имеющих вид взрывозащиты "искробезопасная электрическая
цепь" с уровнем взрывозащиты "ia" для взрывоопасных смесей,
соответствующих подгруппе взрывозащищенного оборудования
IIС.
Рекомендуемые барьеры для питания искробезопасных цепей:
двухканальное промежуточное искробезопасное реле РПИ-301 или
одноканальный искробезопасный сигнально-блокировочный модуль
МСБИ-302.
Монтаж и эксплуатация
Условия эксплуатации реле:
- температура окружающего воздуха от минус 25 до плюс 80°С.
- атмосферное давление - от 630 до 800 мм рт.ст;
- относительная влажность воздуха - до 95% при температуре
35°С и более низких температурах без конденсации влаги;
- вибрационные воздействия с частотой от 10 до 100 Гц с
перегрузкой до 8g;
- содержание агрессивных примесей в окружающем воздухе
должно быть в пределах санитарных норм.
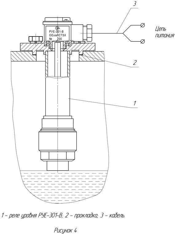
Монтаж и обвязка реле производятся в соответствии с рис.3,
4. Электромонтаж реле производится кабелем МКШ3x0,35 мм2/
Примеры схем включения реле приведены на рис. 5, 6, 7, 8.
Гарантии изготовителя
Гарантийный срок хранения - 3 года.
Гарантийный срок эксплуатации - 18 месяцев.
Комплектность
В комплект поставки входят:
- реле уровня (РУЕ-301-П или РУЕ-301-В) - 1 шт.;
- комплект монтажных частей - 1 компл.;
- руководство по эксплуатации 0.454.020 РЭ- 1 экз.;
- паспорт 0.454.020 ПС - 1экз.
Пример записи обозначения при заказе
- реле, устанавливаемого на шунте, с нормально
замкнутыми контактами, схема подключения с общим "+":
"Реле уровня емкостное проточное РУЕ-301-П-НЗ-2."
- реле погружного вертикального с длиной погружной части 500
мм, с нормально разомкнутыми контактами, схема подключения с
общим "-":
"Реле уровня емкостное погружное вертикальное
РУЕ-301-В-НР-1, L=500 мм."
Габаритные и установочные размеры реле РУЕ-301-П

Габаритные и установочные размеры реле РУЕ-301-В

Схема обвязки реле РУЕ-301-П

Схема обвязки реле РУЕ-301-В

Примеры включения реле уровня РУЕ-301



