|
|
ÐÄ-301, ÐÄ-302, ÐÄ-303... Ðåëå äàâëåíèÿ / Ïðèáîðû äëÿ èçìåðåíèÿ äàâëåíèÿ / Êàòàëîã ïðîäóêöèè
Ðåëå äàâëåíèÿ ÐÄ-301, ÐÄ-302, ÐÄ-303, ÐÄ-304,
ÐÄ-305, ÐÄ-306, ÐÄ-307, ÐÄ-308
 |
Íàçíà÷åíèå
Ðåëå ïðåäíàçíà÷åíî äëÿ êîíòðîëÿ äàâëåíèÿ æèäêèõ è
ãàçîîáðàçíûõ ñðåä â òåõíîëîãè÷åñêèõ ïðîöåññàõ õèìè÷åñêîé,
íåôòåõèìè÷åñêîé, ìåäèöèíñêîé, ìåòàëëóðãè÷åñêîé è äðóãèõ
îòðàñëåé ïðîìûøëåííîñòè. Ðåëå ìîæåò èñïîëüçîâàòüñÿ äëÿ
îñíàùåíèÿ ñèñòåì áëîêèðîâêè íàñîñîâ.
Ïðèíöèï äåéñòâèÿ
Ïðèíöèï ðàáîòû ðåëå çàêëþ÷àåòñÿ â ìåõàíè÷åñêîé ïåðåäà÷å
íà êîíòàêòíûå ãðóïïû ïåðåìåùåíèÿ ÷óâñòâèòåëüíîãî ýëåìåíòà
(ñèëüôîíà), âûçâàííîãî èçìåíåíèåì äàâëåíèÿ êîíòðîëèðóåìîé
ñðåäû. Ïðè äîñòèæåíèè êîíòðîëèðóåìûì äàâëåíèåì çàäàííîãî
çíà÷åíèÿ (óñòàâêè) ðåëå êîììóòèðóåò ýëåêòðè÷åñêèå öåïè
ñèãíàëèçàöèè è áëîêèðîâêè àãðåãàòîâ.
Èñïîëíåíèÿ
Èñïîëíåíèÿ ðåëå ïðèâåäåíû â òàáëèöå.
Êîä
ðåëå |
Ñîñòîÿíèå
êîíòàêòîâ
â íîðìàëüíûõ
óñëîâèÿõ |
Äèàïàçîí
äàâëåíèé,
êãñ/ñì2 |
Îñíîâíàÿ
ïîãðåøíîñòü
ñðàáàòûâàíèÿ, êãñ/ñì2 |
| ÐÄ-301 ÍÇ |
íîðìàëüíî çàìêíóòûå |
0,01 - 0,2 |
0,006 |
| ÐÄ-302 ÍÇ |
0,2 - 1,0 |
0,05 |
| ÐÄ-303 ÍÇ |
1,0 - 4,0 |
0,1 |
| ÐÄ-304 ÍÇ |
4,0 - 10,0 |
0,4 |
| ÐÄ-305 ÍÇ |
10,0 - 16,0 |
0,6 |
| ÐÄ-306 ÍÇ |
16,0 - 30,0 |
1,0 |
| ÐÄ-307 ÍÇ |
30,0 - 75,0 |
4,0 |
| ÐÄ-308 ÍÇ |
75,0 - 110,0 |
6,0 |
| ÐÄ-301 ÍÐ |
íîðìàëüíî ðàçîìêíóòûå |
0,01 - 0,2 |
0,006 |
| ÐÄ-302 ÍÐ |
0,2 - 1,0 |
0,05 |
| ÐÄ-303 ÍÐ |
1,0 - 4,0 |
0,1 |
| ÐÄ-304 ÍÐ |
4,0 - 10,0 |
0,4 |
| ÐÄ-305 ÍÐ |
10,0 - 16,0 |
0,6 |
| ÐÄ-306 ÍÐ |
16,0 - 30,0 |
1,0 |
| ÐÄ-307 ÍÐ |
30,0 - 75,0 |
4,0 |
| ÐÄ-308 ÍÐ |
75,0 - 110,0 |
6,0 |
Òåõíè÷åñêèå õàðàêòåðèñòèêè Ðåëå èìååò äâå ãðóïïû êîíòàêòîâ (Â1 è Â2), â çàâèñèìîñòè
îò ìîäèôèêàöèè íîðìàëüíî çàìêíóòûõ èëè íîðìàëüíî
ðàçîìêíóòûõ.
Ðåëå âûïóñêàåòñÿ íàñòðîåííûì ïî êàæäîé êîíòàêòíîé ãðóïïå â
ñîîòâåòñòâèè ñ çàêàçîì íà êîíêðåòíîå çíà÷åíèå äàâëåíèÿ
(óñòàâêó Ðó) èç äèàïàçîíà äàâëåíèé.
Ïàðàìåòðû êîíòðîëèðóåìîé ñðåäû:
- àãðåññèâíîñòü ñðåäû íå äîëæíà ïðåâûøàòü õèìè÷åñêóþ
ñòîéêîñòü: ñòàëè 12Õ18Í10Ò ÃÎÑÒ 5632 è ñïëàâà 36ÍÕÒÞ ÃÎÑÒ
10994;
- ðåëå íå ìîæåò èñïîëüçîâàòüñÿ äëÿ ðàáîòû ñ æèäêîñòÿìè,
êðèñòàëëèçóþùèìèñÿ èëè çàãóñòåâàþùèìè â óñëîâèÿõ
ýêñïëóàòàöèè;
- òåìïåðàòóðà îò 0 äî 50°Ñ.
Çîíà âîçâðàòà ðåëå íå áîëåå âåëè÷èíû îñíîâíîé ïîãðåøíîñòè
ñðàáàòûâàíèÿ.
×èñëî öèêëîâ êîììóòèðîâàíèÿ êîíòàêòîâ ðåëå íå ìåíåå 100000.
Õàðàêòåðèñòèêè ýëåêòðè÷åñêèõ öåïåé, êîììóòèðóåìûõ ðåëå:
ðîä òîêà – ïîñòîÿííûé
âèä íàãðóçêè – àêòèâíàÿ èëè èíäóêòèâíàÿ;
íàïðÿæåíèå – (27-5+7)Â
òîê ïðè àêòèâíîé íàãðóçêå – îò 5 äî 150 ìÀ.
Ìàññà ðåëå – íå áîëåå 0,9 êã.
Ãàáàðèòíûå è óñòàíîâî÷íûå ðàçìåðû ïðèâåäåíû íà ðèñ.1.
Âçðûâîçàùèùåííîñòü
Ðåëå ñîîòâåòñòâóåò òðåáîâàíèÿì "Îáùèõ ïðàâèë
âçðûâîáåçîïàñíîñòè äëÿ âçðûâîïîæàðîîïàñíûõ õèìè÷åñêèõ,
íåôòåõèìè÷åñêèõ è íåôòåïåðåðàáàòûâàþùèõ ïðîèçâîäñòâ"
ÏÁ 09-170-97 è ïðèãîäíî äëÿ èñïîëüçîâàíèÿ â ñèñòåìàõ
ïðîòèâîàâàðèéíîé àâòîìàòè÷åñêîé çàùèòû (ÏÀÇ).
Ìîíòàæ è ýêñïëóàòàöèÿ
Óñëîâèÿ ýêñïëóàòàöèè:
- òåìïåðàòóðà îêðóæàþùåé ñðåäû - îò 0 äî 50 °Ñ;
- îòíîñèòåëüíàÿ âëàæíîñòü - äî 95 % ïðè 35 °Ñ è áîëåå íèçêèõ
òåìïåðàòóðàõ áåç êîíäåíñàöèè âëàãè;
Ðåëå èìååò ñòåïåíü çàùèòû îò ïðîíèêíîâåíèÿ âíóòðü òâåðäûõ
òåë è âîäû IP67 ïî ÃÎÑÒ 14254.
Ðåëå óñòîé÷èâî ê âîçäåéñòâèþ âèáðàöèè â äèàïàçîíå ÷àñòîò
1 – 35 Ãö ñ óñêîðåíèåì 9,8 ì/ñ2
(1g). Êðåïëåíèå ðåëå îñóùåñòâëÿåòñÿ âèíòàìè Ì4.
Ðàáî÷åå ïîëîæåíèå ðåëå - øòóöåðàìè âíèç.
Ïðèñîåäèíåíèå æèäêîñòíûõ è ãàçîâûõ ëèíèé îñóùåñòâëÿåòñÿ
òðóáêàìè èç ñòàëè 12Õ18Í10Ò ñ òîëùèíîé ñòåíêè 1 ìì è
íàðóæíûì äèàìåòðîì 4 ìì èëè 6 ìì, ïðèâàðåííûì ê íèïïåëÿì,
âõîäÿùèì â ñîñòàâ ðåëå.
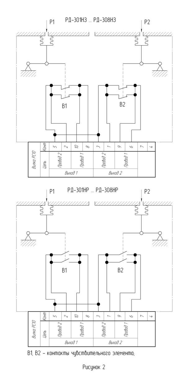
Ýëåêòðîìîíòàæ âûïîëíÿþò êàáåëåì ÊÌÏÂ-7õ0,35 â
ñîîòâåòñòâèè ñî ñõåìîé ýëåêòðè÷åñêîé ñîåäèíåíèé, ïðèâåäåííîé
íà ðèñ. 2.
Ãàðàíòèè èçãîòîâèòåëÿ
Ãàðàíòèéíûé ñðîê õðàíåíèÿ - 3 ãîäà.
Ãàðàíòèéíûé ñðîê ýêñïëóàòàöèè - 18 ìåñÿöåâ.
Êîìïëåêòíîñòü
 êîìïëåêò ïîñòàâêè âõîäÿò:
- ðåëå ÐÄ-301 (èëè ÐÄ-302 … èëè ÐÄ-308)(ìîäèôèêàöèÿ â
ñîîòâåòñòâèè ñ çàêàçîì) - 1 øò.
- êîìïëåêò ìîíòàæíûõ ÷àñòåé - 1 êîìïë.
- ðóêîâîäñòâî ïî ýêñïëóàòàöèè - 1 ýêç.
- ïàñïîðò - 1ýêç.
Ïðèìåð çàïèñè îáîçíà÷åíèÿ ïðè çàêàçå
Ïðèìåð çàïèñè îáîçíà÷åíèÿ ïðè çàêàçå ðåëå äàâëåíèÿ ÐÄ-304
ñ íîðìàëüíî çàìêíóòûìè êîíòàêòàìè ñ óñòàâêàìè ÐÂ1=5
êãñ/ñì2 è ÐÂ2=6 êãñ/ñì2:
"Ðåëå äàâëåíèÿ ÐÄ-304 ÍÇ, óñòàâêà ÐÂ1=5 êãñ/ñì2
è ÐÂ2=6 êãñ/ñì2 ".
Ãàáàðèòíûå è óñòàíîâî÷íûå ðàçìåðû ðåëå äàâëåíèÿ
ÐÄ-301…ÐÄ-308

Ñõåìû ýëåêòðè÷åñêèå ñîåäèíåíèé

|
|
Çàêàçàòü ÐÄ-301, ÐÄ-302, ÐÄ-303... Ðåëå äàâëåíèÿ
|
| |