Тахометры ТЭ-3, ТЭ-3Ех
НАЗНАЧЕНИЕ
Тахометры моделей ТЭ-3 и ТЭ-3Ех предназначены для преобразования сигналов датчиков вращения, индикации изме- ренного значения
угловой или линейной скорости, управления внешними устройствами по двум
релейным выходам и одному токовому унифицированному сигналу 4-20 мА.
Прибор состоит из электронного
блока (далее – блока) и подключённого к нему датчика оборотов.
Электронный блок предназначен для
работы с датчиками оборотов Т1М-Ц (контактным) и Т2МЦ (бесконтактным)
или датчиками оборотов, имеющими на выходе электронный
n-p-n ключ с открытым коллек- тором.
Монтаж корпуса электронного блока – настенный или
щитовой.
Тахометры ТЭ-3Ех в комплекте с датчиком Т2М-ЦЕх и
энергетическим барьером искрозащиты предназначены для применения во
взрывоопасных зонах и помещениях 1 и 2 классов по ГОСТ Р 51330.9-99 и
ГОСТ Р 51330.13-99, а так же во взрывоопасных зонах всех классов
согласно требованиям гл. 7.3 ПУЭ (шестое издание),
«Правил устройства электроустановок», «Правил
эксплуатации электроустановок потребителем» (гл. 3.4), «Правил техники
безопасности при эксплуатации электроустановок потребителей» и другим
нор- мативно-техническим документам, определяющим применяемость
электрооборудования во взрывоо- пасных средах.
Тахометр ТЭ-3Ех в комплекте с бесконтактным датчиком
оборотов Т2М-ЦЕх имеет вид взрывозащи- ты i «искробезопасная цепь»,
маркировку взрывозащиты 1ExibIIСТ6 Х (знак «Х» означает, что
взрывозащита обеспечивается при подключении датчика Т2М-ЦЕх через
энергетический барьер искрозащиты, размещённый во взрывобезопасной зоне
и имеющий Сертификат соответствия ГОСТ Р и Разрешение Федеральной службы
экологического, технологического и атомного надзора, см. схему на рис.
8).
ТЕХНИЧЕСКИЕ ХАРАКТЕРИСТИКИ
Количество каналов измерения (счёта импульсов)
электронного блока ................................................. 1
Диапазон измерения угловой скорости вращения электронным
блоком
(для К=1), обмин
...................................................................................................................от
0,1 до 100000
– в комплекте с датчиком Т1М-Ц или Т2М-Ц
......................................................................от
0,1 до 10000
– в комплекте с датчиком Т2М-Ц и радиальным,
устанавливаемым на вал,
отсчётным диском
...................................................................................................................от
0,1 до 20000
Диапазон измерения линейной скорости электронным блоком,
м/мин ............................... от 1 до 2000
– в комплекте с датчиком Т1М-Ц (К=1)
......................................................................................
от 1 до 500
Диапазон установки коэффициента деления К на электронном
блоке
(количество импульсов за один оборот датчика)
.......................................................................от
1 до 199
Цена деления цифрового индикатора, обмин и ммин:
– до 10000
..................................................................................................................................................
0,1
– выше 10000
............................................................................................................................................
1,0
Предел допустимой основной погрешности измерения угловой
(линейной) скорости блоком и при измерении в комплекте с бесконтактным
датчиком Т2М-Ц, %, не более:
– для диапазона от 0,1 до 10 об/мин (от 0,1 до 10 м/мин)
.....................................................................
±1,0
– для диапазона от 10 до 100 об/мин
....................................................................................................
±0,25
– для диапазона от 100 до 5000 об/мин (до 250 м/мин)
.........................................................................±0,2
– для диапазона от 5000 до 20000 об/мин (до 2000 м/мин)
............................................................... ± 0,2
Предел допустимой основной погрешности измерения угловой
скорости при измерении в комплекте с контактным датчиком Т1М-Ц, в
диапазоне от 0,1 до 10000 об/мин, %, не более
............................... ±2,0
Предел допустимой основной погрешности линейной скорости
при измерении в комплекте с контак- тным датчиком Т1М-Ц, в диапазоне от
0 до 500 м/мин, %, не более
................................................... ±5,0
Допустимый диаметр дисковой насадки D датчика Т1М-Ц
(при измерении линейной скорости), мм
.....................................................................................от
30 до 32
(при поставке диаметр указывается в руководстве по
эксплуатации).
Тип цифрового индикатора электронного блока –
светодиодный, цвет красный, количество цифр – 5.
К входу электронного блока может быть подключен
датчик оборотов Т1М-Ц (контактный) и Т2М-Ц (бесконтактный); или датчик оборотов, имеющий на выходе n-p-n тран- зистор с
открытым коллектором. Для питания датчика выведено постоянное напряжение
+5В (ток на- грузки до 100 мА).
Выходные сигналы тахометра 1 и 2 – релейные, срабатывают
при достижении установленных значе-
ний. Вариант 1 – выходные сигналы 1 и 2 – бесконтактные,
с гальванической развязкой от схемы измерения прибора и внутренней
схемой перехода через ноль (оптосимистор), напряжение на нагрузке не
более 250 В при токе не более 0,1 А, частота напряжения питания 50 Гц
(индекс в обозначении – С).
Вариант 2 – выходные сигналы 1 и 2 – контакты реле,
коммутируемое напряжение – не более 250 В, ток – не более 6 А,
максимальная коммутируемая
мощность – 500 Вт (индекс в
обозначении – Р).
Дополнительный выходной сигнал – токовый 4-20 мА –
гальванически развязан от схемы обработки, питание от внутреннего
источника питания напряжением (24+2) В. Сопротивление нагрузки – не
более 500 Ом.
Установка скорости вращения, соответствующей
минимальному (4 мА ) и максимальному (20 мА ) значениям тока,
производится потребителем. Зависимость выходного тока от измеренной
скорости – линейная.
Устойчивость к внешним воздействиям по ГОСТ 12997-96:
– электронного блока
..............................................................................................................
группы В2, N1
– контактного датчика Т1М-Ц
..............................................................................................
группы В2, V3
– бесконтактного датчика Т2М-Ц
.......................................................................................
группы С4, V3
Защищенность от воды и пыли по ГОСТ 14254-96:
– электронного блокас клеммами
.........................................................................................................
IР 20
– электронного блока с разъёмами
........................................................................................................IР
54
– контактного датчика Т1М-Ц
................................................................................................................IР
20
– бесконтактного датчика Т2М-Ц
..........................................................................................................IР
54
Напряжение питания блока, В
.................................................................................
220±22,
частота 50 Гц
Потребляемая мощность, ВА, не более
.....................................................................................................
7
Габаритные размеры электронного блока, мм, не более:
– вариант с клеммами (индекс в обозначении – Н1 или Щ1)
...............................................140 х 140 х 90
– вариант с разъёмами (индекс в обозначении – Н2 или Щ2)
............................................ 185 х 140 х 90
Габаритные и присоединительные размеры электронного
блока соответствуют размерам регулятора РТ3Ц-2 исполнений Н1 и Н2
(настенный вариант), Щ1 и Щ2 (щитовой вариант).
Габаритные размеры датчиков Т1М-Ц и Т2М-Ц представлены
на рисунках ниже.
Масса, кг, не более
– электронного блока
.................................................................................................................................
1,0
– датчика Т1М-Ц (контактного)
................................................................................................................
0,6
– датчика Т2М-Ц (бесконтактного)
.........................................................................................................
0,25
Рекомендуемый соединительный кабель – модели UTP 4PR
Cat5 (или Cat5e) – четыре витые пары.
Длина соединительного кабеля модели UTP 4PR между
датчиком оборотов производства НПК «Эта-
лон» и электронным блоком, м, не более
....................................................................................................
100
Приборы ТЭ-3 могут поставляться в комплекте датчиками
Т1М-Ц (контактный датчик с насадками для измерения угловой и линейной
скорости) и Т2М-Ц (бесконтактный датчик для измерения угловой скорости с
различными отсч¸тными дисками) или отдельным блоком.
Примечание. По согласованию с изготовителем возможно
изготовление бесконтактных датчиков поэскизам заказчика.
Примеры обозначения при заказе
1. Тахометр модели ТЭ-3, выходы – контакты реле, корпус
для настенного монтажа, внешние подклю- чения – к клеммной колодке, с
датчиками Т1М-Ц и Т2М-Ц, длина кабеля датчиков – 10 метров –
Тахометр ТЭ-3-Р-Н1- Т1М-Ц, Т2М-Ц
(длина кабеля – 10 метров) ТУ 4278-100-12150638-2005;
2. Тахометр модели ТЭ-3 в искробезопасном исполнении,
выходы – симисторы, корпус для щитового монтажа, внешние подключения – к
разъёмам, длина кабеля датчика Т2М-ЦЕх – 100 метров –
Тахометр ТЭ-3Ех-С-Щ2- Т2М-ЦЕх
(длина кабеля – 100 метров) ТУ 4278-100-12150638-2005;
3. Тахометр модели ТЭ-3 в искробезопасном исполнении,
выходы – контакты реле, корпус для на- стенного монтажа, внешние
подключения – к разъёмам, длина кабеля датчика Т2М-ЦЕх – 100 метров,
радиальный, устанавливаемый на вал, отсчётный диск – по эскизу –
Тахометр ТЭ-3Ех-Р-Н2- Т2М-ЦЕх
(длина кабеля – 100 метров)+ эскиз отсчётного диска ТУ
4278-100-12150638-2005.
Рис. 1. Передняя панель электронного блока тахометра
ТЭ-3 (ТЭ-3Ех) с клеммами (а) и разъёмами (б).
Вых 1 – светодиод состояния выхода 1
(включено/выключено)
Вых 2 – светодиод состояния выхода 2
К1, К2 – светодиоды выбранного канала об/мин – измерение
угловой скорости м/мин – измерение линейной скорости.
Рис. 2. Контактный датчик оборотов Т1М-Ц с насадкой для
измерения линейной скорости (а), насадка для измерения угловой скорости
с наружным конусом (б) и внутренним конусом (в).
1 – корпус датчика Т1М-Ц
2 – вращающийся вал
3 – резиновый диск насадки для измерения линейной
скорости (D= 31...32 мм – диаметр указан в руководстве)
4 – соединительный кабель
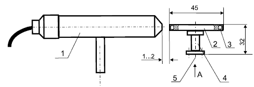
Рис. 3. Датчик оборотов Т2М-Ц (ТМ2-ЦЕх) для
бесконтактного измерения угловой скорости с торцевым отсчётным диском.

1 – корпус датчика Т2М-Ц
2 – крепёжный вал датчика Т2М-Ц
3 – торцевой отсчётный диск (вращение в любом
направлении)
4 – вклееный магнит (2 штуки)
5 – съёмный фланец для крепления отсчётного диска
6 – кабель
7 – ось вращения отсчётного диска
Рис. 4. Датчик оборотов Т2М-Ц (Т2М-ЦЕх) для
бесконтактного измерения угловой скорости с радиальным отсчётным диском.
Примечание. Количество отсчётных дисков для датчика
Т2М-Ц оговаривается при заказе.

1 - корпус датчика Т2М-Ц
2 - радиальный отсчётный диск с двумя магнитами (
вращение в любом направлении)
3 - вклееный магнит (2 штуки)
4 - съёмный фланец для крепления отсчётного диска
5 - ось вращения отсчётного диска

Рис. 5. Радиальный, устанавливаемый на вал, отсчётный
диск с двумя магнитами (по
требованию заказчика габаритные размеры могут быть
изменены).
Рис. 6. Схема включения датчика оборотов с
цифровым выходом модели Т1М-Ц (или Т2М-Ц) и выходного токового сигнала
4-20 мА электронного блока тахометра ТЭ-3 с релейными выходами. Внешние
подключения – к клеммной колодке.

ТЭ3 – электронный блок тахометра
Д – датчик оборотов с цифровым выходом
Т1М-Ц или Т2М-Ц
Rн - сопротивление нагрузки (до 500 Ом)
V – измерительный прибор
Клемма заземления электронного блока соединена с клеммой
–5В
Кабель датчика оборотов – модели UTP 4PR Cat 5 (витые
пары) ), указан цвет провода
Клемма заземления есть только на датчике оборотов Т2М-Ц
Рис. 7. Схема включения датчика оборотов с
цифровым выходом модели Т1М-Ц (или Т2М-Ц) и выходного токового сигнала
4-20 мА электронного блока тахометра ТЭ-3 с релейными выходами. Внешние
подключения – к разъёмам.

ТЭ3 – электронный блок тахометра
Д – датчик оборотов с цифровым выходом
Т1М-Ц или Т2М-Ц
Rн – сопротивление нагрузки (до 500 Ом)
V – измерительный прибор
Клемма заземления электронного блока со- единена с
клеммой –5В
Кабель датчика оборотов – модели UTP 4PR
Cat 5 (витые пары), указан цвет провода
Клемма заземления есть только на датчике оборотов Т2М-Ц
Рис. 8. Схема включения датчика оборотов с цифровым
выходом модели Т2М-ЦЕх к электронному блоку тахометра ТЭ-3Ех через
энергетический двухканальный барьер искрозащиты модели КО-РУНД-М4.

ТЭ-3И – электронный блок тахометра
Д – датчик оборотов с цифровым выходом Т2М-ЦЕх
Клемма заземления электронного блокасоединена с клеммой
–5В
Кабель датчика оборотов Т2М-ЦЕх – модели UTP 4PR Cat 5
(витые пары), указан цвет провода.
|