Перейти на главную страницу сайта

 

ТСП/1-1088К, ТСМ/1-1088К

 
Сделать заказ >>>
bline.gif (87 bytes)

 Поиск в каталоге:
 
ТСП/1-1088К, ТСМ/1-1088К Термопреобразователи сопротивления / Приборы для измерения температуры / Каталог продукции

Термопреобразователи сопротивления кабельные платиновые и медные ТСП/1-1088К, ТСМ/1-1088К

Термопреобразователи сопротивления кабельные платиновые и медные ТСП/1-1088К, ТСМ/1-1088К

Конструктивные особенности

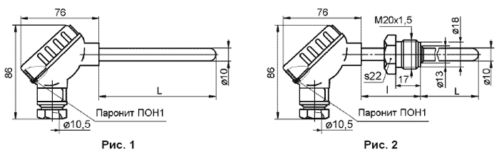
Термопреобразователи по рис. 1-3 имеют аналогичную ТСМ/1-1088 и ТСП/1-1088 защитную арматуру, во внутрь которой помещен кабельный чувствительный элемент типа КЭСП и КЭЧМ, который может заменяться потребителем в процессе эксплуатации и заказываться отдельно. Термопреобразователи по рис. 4-7 в качестве защитной арматуры имеют кабельный чувствительный элемент КЭЧП или КЭЧМ в оболочке из стали 12Х18Н10Т диаметром 6,0 мм, который можно изгибать. Исполнение по рис. 6 и 7 используются в основном для установки в защитную арматуру диаметром 10х1 и 20х2 соответственно.

 

 

 

 

Примеры записи при заказе

1. Термопреобразователь сопротивления кабельный ТСП/1-1088К исполнение по рис. 2, НСХ 100П, класса допуска В со схемой соединения 4 с длиной монтажной части L=630 мм – «ТСП/1-1088К-2-100П-В-сх.4-630 мм».

2. Кабельная термовставка к такому термопреобразователю – «Термовставка ТСП/1-1088К-2-100П-В-сх.4-630 мм».


Заказать ТСП/1-1088К, ТСМ/1-1088К Термопреобразователи сопротивления

  Тел.(4812)386407, 386663, 387597. Факс(4812)385745
E-mail: mail@teploizmerenie.ru