Измерители-регуляторы
многоканальные РТ3Ц-8, РТ3Ц-12
НАЗНАЧЕНИЕ
Многоканальные измерители-регуляторы модели РТ3Ц-8 и
РТ3Ц-12 (далее регуляторы) предназначены для:
– автоматического измерения температуры, влажности,
давления и других физических величин в промышленных установках (в т.ч.
судовых системах автоматизации);
– автоматического регулирования (двухпозиционного,
трёхпозиционного, по ПИД-закону) темпера- туры и других физических
величин относительно заданных значений;
– цифровой индикации номера канала и текущего значения
температуры (физической величины) по этому каналу;
– цифровой индикации уставки выбранного канала
– сигнализации достижения установленного значения
температуры (физической величины);
– вычисления и индикации разности температур (физических
величин) от среднего значения по каж-дому из выбранных каналов;
– автоматического или ручного опроса выбранных каналов
измерения;
– контроля обрыва или замыкания цепи первичного
преобразователя.
Регуляторы, выполненные в виде щитового прибора, могут
работать в комплекте с:
– термопреобразователями сопротивления (ТС), НСХ по ГОСТ
6651-94;
– термопарами с изолированным спаем (ТП), НСХ по ГОСТ Р
8.585-2001;
– унифицированными сигналами тока и напряжения.
Выбор и установка типа первичного преобразователя по
каждому каналу, установка заданного значе-ния температуры (физической
величины) по каждому каналу и параметров регулирования производится
кнопками на передней панели по цифровому индикатору регулятора.
Регуляторы оснащены устройством для контроля обрыва
(замыкания) первичного преобразователя и их линий связи.
Регулятор состоит из блока индикации (одна модель) и
входного устройства ВУ (две модели). Первич-ные преобразователи
подключаются к ВУ, которое может быть расположено вблизи от объекта
измерения. Дополнительно регулятор может комплектоваться восьмиканальным
блоком реле БР8.
Модели входного устройства: ВУ8 – для подключения восьми
первичных преобразователей по вы-бору потребителя; ВУ12 – для
подключения двенадцати термопар или сигналов тока (напряжения) повыбору
потребителя.
ОСНОВНЫЕ ТЕХНИЧЕСКИЕ ХАРАКТЕРИСТИКИ
Количество входных сигналов (каналов измерения):
– модель РТ3Ц-8
.......................................................................................................................................
до 8
– модель РТ3Ц-12 (только для термопар и унифицированных
сигналов) ......................................... до 12
Расстояние между основным и входным устройствами, м, не
более ................................................... 100
Схема соединения между блоками
.......................................................................................
двухпроводная
Регулятор обеспечивает хранение уставок по каждому
каналу при отключенном питании.
Потребитель самостоятельно устанавливает параметры
регулирования по выбранным каналам: двухпозиционное (уставка + зона
возврата), трёхпозиционное (две уставки + зона возврата), параметры
ПИД-регулятора ( постоянные интегрирования, дифференцирования, ширину
зоны пропорциональности, период следования ШИМ-импульсов).
Напряжение питания:
– модели РТ3Ц-8 и РТ3Ц-12 – от сети переменного тока
напряжением 220 В с частотой 50 Гц, допус-каемые колебания напряжения в
сети ±10%, потребляемая мощность – не более 7 ВА;
– модели РТ3Ц-8-24 и РТ3Ц-12-24 – постоянным напряжением
24-27 В с коэффициентом пульсацийне более 8%;
Устойчивость к внешним воздействиям по ГОСТ 12997-84
(температура окружающей среды (группыВ2, N2);
Защищенность от воды и пыли по ГОСТ 14254-96
...............................................................................IP20
Уровень продольной помехи – не более 220 В переменного
тока частотой 50 Гц (помеха действует
между корпусом регулятора и входной цепью).
Напряженность внешнего магнитного поля частотой 50 Гц –
не более 400 А/м.
Материал корпусов блока индикации и входного устройства
– пластмасса.
Габариты, мм, не более:
– блок индикации (предназначен для щитового монтажа)
.....................................................96 х 96 х 150
– размер отверстия в щите
...................................................................................................................91
х 91
– входное устройство (крепление на DIN-рейку)
....................................................................140
х 70 х 60
Масса, кг, не более:
– основное устройство
...............................................................................................................................
0,8
– входное устройство
.................................................................................................................................
0,5
Таблица 1. Типы первичных преобразователей, диапазоны
измерения и регулирования
Выходы регуляторов
1. Восемь транзисторных n-р-n ключей с открытым
коллектором, внешнее питание до 30 В, нагрузка
– до 0,2 А. Выходные сигналы гальванически развязаны
от входных цепей, напряжение пробоя не менее 1500 В, что позволяет
подключать выходы непосредственно к силовым цепям (например, для
управления тиристорами или симисторами). Выходы могут быть
подключены в любой комбинации к любому из входов (для
двухпозиционного, трёхпозиционного регулирования, регулирование по
ПИД-закону, управления задвижками – см. примеры).
2. Выходные аварийные релейные сигналы (два реле,
ток нагрузки – до 4 А, напряжение коммутации 250В, максимальная
коммутируемая мощность 100 Вт).
Первое реле срабатывает при превышении уставки по
любому из выбранных каналов.
Второе реле срабатывает при превышении заданного
отклонения от среднего значения по любому из выбранных каналов.
3. Регулятор имеет встроенный интерфейс RS-485 для
приёма и передачи информации от компьютера и других приборов,
оснащённых таким же интерфейсом связи. Для работы регулятора с
компьютером необходим адаптер сети.
Дополнительные технические характеристики
Для регуляторов, работающих с термоэлектрическими
преобразователями:
– компенсация э.д.с. холодного спая
термопреобразователя – автоматическая
– дополнительная погрешность измерения от
компенсации – не более 0,2% от диапазона входного сигнала
Для регуляторов, работающих с термопреобразователями
сопротивления:
– схема подключения термопреобразователя –
трехпроводная
– компенсация сопротивления линии связи –
автоматическая при условии, что провода линии связи имеют равное
сопротивление.
– сопротивление линии связи не должно превышать 5 Ом
(каждого провода).
Для регуляторов, работающих с сигналами
унифицированного напряжения:
– входное сопротивление, кОм, не менее
...............................................................................................
20,0
Для регуляторов, работающих с сигналами
унифицированного тока:
– сопротивление двухпроводной линии связи между
входным устройством и датчиком,
Ом, не более
..............................................................................................................................................
400
Пример условного обозначения при заказе:

1 – наименование модели (РТ3Ц-8
– восьмиканальный с
входным устройством ВУ-8, РТ3Ц-12 – две- надцатиканальный с ВУ-12);
2 – напряжение питания (без
обозначения – 220 В, 50
Гц, 24 – постоянное напряжение (24…27) В.

Рис. 1. Схема подключения регулятора РТ3Ц-8 с
восемью входами и двумя выходами (реле с переключающимися
контактами).
Питание – 220В, 50 Гц.
Может применяться для для аварийной сигнализации.

Рис. 2. Схема подключения регулятора РТ3Ц- 12 с
двенадцатью входами и двумя выходами (реле с переключающимися
контактами).
Питание – 24-27 В постоянного тока.
Может применяться для аварийной сигнализации в
судовых установках.
Датчики – термопары или преобразователи с сигналами
унифицированного тока.
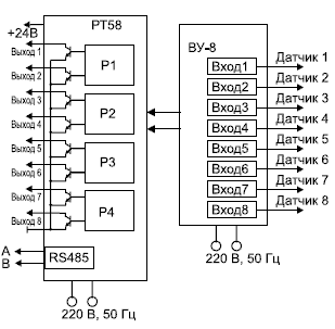
Рис. 3. Схема подключения регулятора РТ3Ц- 8 с восемью
входами и восемью транзисторными выходами (один вход – один выход).
Питание транзисторных выходов – от внешнего источника
питания постоянного тока 24 В, 2 А.
Дополнительные выходы – реле с переключающимися
контактами.
Питание – 220 В, 50 Гц.
Может применяться для управления восемью зонами нагрева
с аварийным отключением питания при превышении температуры выше
заданного уровня.
Рис. 4. Схема подключения регулятора РТ3Ц- 8 с восемью
входами и восемью транзистор-ными выходами (один вход – два выхода).
Питание – 220 В, 50 Гц.
Может применяться для трёхпозиционного регулирования по
первым четырём входам, по остальным входам – измерение.
Рис. 5. Общая схема подключения измерительных
датчиков к входному устройству ВУ-8 с питанием от сети 220 В, 50 Гц
(а) и ВУ-12 с питанием постоянным током 24-27 В (б).
Рис. 6. Cхема подключения измерительных датчиков к
универсальным входам ВУ-8 (термометр сопротивления, термопара,
датчик с выходным сигналом напряжения и датчик с токовым выходом).
Рис. 7. Cхема подключения измерительных датчиков к
универсальным входам ВУ-12 (термопара, датчик с выходным сигналом
напряжения и датчик с токовым выходом).
Рис. 8. Cхема подключения блока реле БР8 к
транзисторным выходам регулятора РТ3Ц-8.
|