Перейти на главную страницу сайта

 

ПТВУ, ПТВУ-Ех, ПТВУ-П

 
Сделать заказ >>>
bline.gif (87 bytes)

 Поиск в каталоге:
 
ПТВУ, ПТВУ-Ех, ПТВУ-П Преобразователи измерительные температуры и влажности / Преобразователи измерительные / Каталог продукции

Преобразователи измерительные температуры и влажности с унифицированными токовыми выходными сигналами ПТВУ, ПТВУ-Ех, ПТВУ-П

Преобразователи измерит. температ. и влажности с унифиц-ными токовыми выходными сигналами ПТВУ, ПТВУ-Ех, ПТВУ-П

НАЗНАЧЕНИЕ

Для непрерывного измерения температуры и относительной влажности (или только влажности) газовых сред и преобразования измеренных значений в унифицированный электрический выходной сигнал постоянного тока 0-5 мА или 4-20 мА.

Преобразователи ПТВУ предназначены для работы в системах автоматическо- го контроля, регулирования и управления технологическими процессами и пред- назначены для использования в пищевой, деревообрабатывающей, нефтегазодобывающей, нефтегазоперерабатывающей, нефтехимической промышленности, системах управления влажностью в производственных и бытовых помещениях.

Преобразователи ПТВУ поставляются в общепромышленном исполнении (ПТВУ и ПТВУ-П) и взрывобезопасном исполнении (ПТВУ-Ех – маркировка взрывозащиты «0ExiaIICT6 X»). Для обеспечения взрывозащиты преобразова- тель должен включаться через энергетический блок искрозащиты

Конструктивно преобразователи ПТВУ и ПТВУ-Ех состоят из корпуса и за- щитной арматуры датчиков. В корпусе расположена плата с электронной схемой.

На конце защитной арматуры расположена плата с датчиками температуры и влажности. Датчики закрыты съёмным колпачком с защитной сеткой.

Монтаж преобразователей ПТВУ и ПТВУ-Ех на объекте производится на защитную арматуру (штуцер с резьбой М20х1,5). Преобразователь ПТВУ-П состоит из пластмассового корпуса с электронной схемой и датчика температуры и влажности с гибким кабелем.

Кабельный ввод преобразователей предназначен для монтажа кабеля диаметром до 10 мм.

ТЕХНИЧЕСКИЕ ХАРАКТЕРИСТИКИ

Диапазон выходного тока, мА, ...............................................................................................4...20 или 0...5

Диапазон преобразования относительной влажности, % ................................................................. 0...100

Диапазон измеряемой температуры ,°С ..................................................–40...+100; –25...+25; 0...100; 0...50

(выбирается потребителем, устанавливается перемычками на фальшпанели печатной платы).

Предел абсолютной основной погрешности выходного сигнала:

– для температуры, °С ............................................................................................................................... 0,5

– для относительной влажности, % .......................................................................................................... 3,0

Предел дополнительной погрешности выходного сигнала, вызванной изменением температуры окру- жающего воздуха от нормальной (25–5 °С) до любой температуры в пределах рабочих температур на каждые 10 °С:

– для температуры, °С ..............................................................................................................................±0,2

– для относительной влажности, % ........................................................................................................ ±1,0

Предел дополнительной погрешности выходного сигнала, вызванный отклонением напряжения пита-

ния от номинального в пределах от 14 до 36 В (с учётом сопротивления нагрузки):

– для температуры, °С .............................................................................................................................. ±0,1

– для относительной влажности, % ........................................................................................................±0,2

Предел дополнительной погрешности выходного сигнала, вызванный отклонением сопротивления нагрузки в пределах от ноля до максимального значения:

– для температуры, °С .............................................................................................................................. ±0,1

– для относительной влажности, % ........................................................................................................±0,2

Зависимость выходного тока от температуры и относительной влажности – линейная.

Зависимость выходного тока от температуры: I = (T – Tмин)/ (Тмакс – Тмин) х (Iмакс – Iмин) + Iмин,

где I – значение выходного тока, мА;

Т – значение измеряемой температуры, °С;

Iмакс, Iмин – верхнее и нижнее предельные значения выходного сигнала, мА;

Tмин, Тмакс – нижний и верхний пределы измерений температуры, °С;

Зависимость выходного тока от влажности: I=(Rн%/100%) x (Iмакс – Iмин) + Iмин,

где RH% – значение измеренной влажности в %.

Дополнительный выход (устанавливается по заказу на ПТВУ-Ех и ПТВУ-П) интерфейс RS-485 для

выхода на компьютер.

Напряжение питания, В:

– для ПТВУ в пределах ........................................................................................................................14 …36

– для ПТВУ-Ех .....................................................................................................................................4,0±0,5

Потребляемая мощность, Вт, не более ...................................................................................................... 1,2

Напряжение питания Uп(В) должно удовлетворять формуле: 14 + Imax Rн ≤ Uп ≤ 36,

где Rн – сопротивление нагрузки (с учетом линии связи), кОм;

Imax – максимальный выходной ток 5 мА или 20 мА

Максимальное сопротивление нагрузки, кОм:

– для тока 0…5 мА ..................................................................................................................................... 1,0

– для тока 4…20 мА ................................................................................................................................... 0,6

Сечение проводов для подключения к клеммной колодке, мм2, не более ............................................ 1,0

Вид климатического исполнения преобразователя (без датчика температуры и влажности) по ГОСТ

12997-84 – группа С4 (температура окружающей среды от минус 30 до +50 °С; относительная влажность

воздуха до 95% при температуре +35 °С и более низких температурах без конденсации влаги).

Допустимая длительная температура нагрева датчика температуры и влажности, °С ..................... 125

Степень защиты преобразователя от воздействия пыли и воды по ГОСТ 14254-96.

Устойчивость к механическим воздействиям по ГОСТ 12997-84 – группа N2.

Материал корпуса преобразователей: ПТВУ – алюминиевый сплав с защитным покрытием, ПТВУ-Ех

– углеродистая сталь с защитным покрытием или нержавеющая сталь, ПТВУ-П – АВС-пластик.

Масса, кг:

– преобразователя ПТВУ ............................................................................................................от 0,5 до 0,9

– преобразователя ПТВУ-Ех ....................................................................................................... от 0,7 до 1,0

– преобразователя ПТВУ-П ........................................................................................................ от 0,5 до 0,9

Длина защитной арматуры преобразователей ПТВУ и ПТВУ-Ех, мм .................................от 60 до 1000

Длина кабеля преобразователя ПТВУ-П, мм ....................................................................... от 500 до 3000

Пример обозначения при заказе

 

1 – обозначение модели (ПТВУ, ПТВУ-Ех или ПТВУ-П);

2 – выходной ток (0…5 мА или 4…20 мА);

3 – длина защитной арматуры L, мм (от 60 до 1000 мм) или длина кабеля для ПТВУ-П (от 500 до 3000 мм);

4 – наличие дополнительного выхода (для ПТВУ-П, ПТВУ-Ех) для подключения к компьютеру через интерфейс RS-485 (0 – нет, 1 – есть).

 

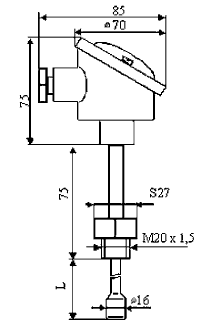
Рис. 1. Габаритные и присоединительные размеры преобразователей температуры и влажности  ПТВУ. 

1 – нижний полукорпус ПТВУ-П

2 – верхний полукорпус ПТВУ-П

3 – входной кабельный ввод с сальнико- вой гайкой, диаметр кабеля 7...11 мм

4 – выходной кабельный ввод с сальни- ковой гайкой, диаметр кабеля 7...11 мм

5, 6 – планки для установки ПТВУ на щите (стене)

7 – место фальшпанели с маркировкой

8 – датчик температуры и влажности в защитном чехле

9 – кабель

10 – кронштейн для крепления датчика температуры и влажности 

ПТВУ – преобразователь температуры и влажности ПТВУ или ПТВУ-П

БП – блок питания постоянного тока, напряжение 14...36 В (номинальное напряжение 24 В)

Rн% – сопротивление нагрузки для измерения относительной влажности

Rнt – сопротивление нагрузки для измерения температуры

А, В – дополнительный выход только для ПТВУ-Ех и ПТВУ-П (выход на компьютер по интерфейсу Rs-485)

РС – устройство сопряжения с компьютером

ПТВУ-Ех – преобразователь температуры и влажности ПТВУ-Ех-05 или ПТВУ-Ех-420

БП – блок питания постоянного тока, напряже- ние 24В

Rн% – сопротивление нагрузки для измерения относительной влажности

Rнt – сопротивление нагрузки для измерения температуры

Корунд-М4 – барьеры искрозащиты

 

 

 

 

Рис. 4. Схема электрическая подключений преобразователей ПТВУ-Ех.


Заказать ПТВУ, ПТВУ-Ех, ПТВУ-П Преобразователи измерительные температуры и влажности

  Тел.(4812)386407, 386663, 387597. Факс(4812)385745
E-mail: mail@teploizmerenie.ru