Контроллер
микропроцессорный ГАММА-7М
1
Назначение
1.1 Контроллер микропроцессорный
ГАММА–7М (далее «прибор»), в зависимости от исполнения, предназначен для:
– многоканального измерения уровня однофазных жидкостей совместно с датчиками
уровня ультразвуковыми ДУУ2М (далее «ДУУ2М»);
– многоканального измерения уровней раздела сред многофазных жидкостей совместно
с датчиками ДУУ2М;
– измерения давления внутри резервуаров совместно с датчиками ДУУ2М или
датчиками избыточного давления ДИД1 и ДИД2 (далее «ДИД1» и «ДИД2»);
– измерения температуры контролируемых жидкостей совместно с датчиками ДУУ2М;
– многоканального измерения температуры контролируемых
жидкостей совместно с датчиками температуры многоточечными ДТМ2 (далее «ДТМ2»);
– измерения различных технологических параметров
(давление, температура и т.п.) при подключении датчиков сторонних
производителей, имеющих стандартный выходной токовый сигнал;
– одновременного регулирования (позиционный или
пропорциональный законы регулирования) по двум параметрам, измеряемым
подключенными к прибору датчиками ДУУ2М, ДТМ2, ДИД1, ДИД2 или датчиками со
стандартным токовым выходом; – управления дискретными исполнительными
механизмами (задвижки, пускатели и т.п.);
– формирования стандартных токовых сигналов для выдачи на
устройства регистрации (самописцы);
– осуществления цифрового обмена по последовательному
интерфейсу с ЭВМ верхнего уровня;
– обеспечения взрывозащищенного электропитания
подключенных датчиков (датчики, подключаемые к прибору, могут размещаться на
объектах класса B–1 и B–1а по классификации главы 7.3 ПУЭ (шестое издание), где
возможно образование смесей горючих газов и паров с воздухом категории IIB
согласно ГОСТ Р 51330.11 температурного класса Т5 согласно ГОСТ Р 51330.0);
– построения информационноуправляющих комплексов при
подключении к прибору контроллеров–сборщиков микропроцессорных КСМ2 и КСМ4.
1.2 Базовый блок прибора включает в
свой состав блок питания БП6, модуль процессора МП5М и ячейку индикации ЯИ4.
Кроме того, базовый блок имеет два соединителя для наращивания функциональных
возможностей прибора.
К первому соединителю подключается модуль интерфейса МИ/М, обеспечивающий связь
прибора с ЭВМ верхнего уровня.
Второй соединитель позволяет установить один из трех следующих типов модулей
расширения:
– модуль сопряжения с датчиками МСД;
– модуль токовых сигналов МТС1;
– модуль токовых сигналов МТС2.
Прибор, в зависимости от комплектации
модулем интерфейса МИ/М, модулем расширения и установленной версией программного
обеспечения (ПО), выпускается в различных исполнениях, представленных в таблице
III.1.1.
Таблица III.1.1
|
Обозначение исполнения |
Наличие дополнительных модулей |
Устройства, поддерживаемые ПО прибора |
|
МИ/М |
МСД |
МТС1 |
МТС2 |
|
0 |
– |
– |
– |
– |
Датчики ДУУ2М, ДТМ2, ДИД1 |
|
1 |
+ |
– |
– |
– |
|
2 |
– |
+ |
– |
– |
|
3 |
+ |
+ |
– |
– |
|
4 |
– |
– |
+ |
– |
Датчики ДУУ2М, ДТМ2, ДИД1 |
|
5 |
+ |
– |
+ |
– |
|
6 |
– |
– |
– |
+ |
Датчики ДУУ2М, ДТМ2, ДИД1, ДИД2, датчики с выходным
стандартным токовым сигналом, сигнализаторы |
|
7 |
+ |
– |
– |
+ |
|
8 |
+ |
– |
– |
– |
Контроллеры серии КСМ |
|
9 |
+ |
+ |
– |
– |
1.3 Базовый блок прибора
предназначен для подключения к нему двух датчиков (исполнения прибора от 0 до 7)
или контроллеров КСМ (исполнения прибора 8 и 9), модуля интерфейса МИ/М, одного
из модулей расширения и обеспечивает:
– искробезопасное питание датчиков;
– питание МИ/М и модуля расширения;
– обработку поступающих от датчиков (КСМ) сигналов и расчет измеряемых датчиками
(КСМ) параметров; – обмен информацией и управление МИ/М и модулем расширения;
– формирование четырех изолированных дискретных сигналов типа «сухой контакт»
для предупредительной или аварийной сигнализации (ключи);
– индикацию измеренных базовым блоком и модулем расширения параметров на
встроенном жидкокристаллическом индикаторе (ЖКИ);
– ввод и просмотр настроек прибора.
1.4 Модуль интерфейса МИ/М
(исполнения прибора 1, 3, 5, 7…9) предназначен для обеспечения связи прибора с
ЭВМ верхнего уровня по одному из стандартных интерфейсов RS–232, или RS–422, или
RS–485 в формате протокола Modbus RTU.
1.5 Модуль сопряжения с датчиками
МСД предназначен для подключения к прибору шести датчиков (исполнения прибора 2
и 3) или шести КСМ (исполнение прибора 9) и, совместно с базовым блоком прибора,
обеспечивает:
– искробезопасное питание датчиков;
– обработку поступающих от датчиков (КСМ) сигналов и расчет измеряемых датчиками
(КСМ) параметров.
1.6 Модуль токовых сигналов МТС1
(исполнения прибора 4 и 5) предназначен для формирования стандартных токовых
сигналов и, совместно с базовым блоком прибора, обеспечивает:
– формирование четырех стандартных программируемых токовых сигналов 0…5 мА, 0…20
мА или 4…20 мА (два выхода гальванически изолированные от общей шины и два
выхода неизолированные с программируемыми привязками) для работы с самописцами,
электропневмопреобразователями или другими исполнительными устройствами;
– управление поддержанием измеряемого параметра на заданной величине или в
определенных границах с помощью исполнительных устройств с токовым входом
(только для изолированных выходов, два независимых канала с программируемыми
привязками, позиционный или пропорциональный законы регулирования);
– считывание четырех дискретных сигналов типа «сухой контакт», поступающих от
сигнализаторов.
1.7 Модуль токовых сигналов МТС2
(исполнения прибора 6 и 7) предназначен для подключения двух датчиков, имеющих
стандартный токовый выход, а также формирования стандартных токовых сигналов и,
совместно с базовым блоком прибора, обеспечивает:
– искробезопасное питание и одновременное измерение двух токовых сигналов
взрывобезопасных датчиков, имеющих стандартный токовый выход 4…20 мА, по
двухпроводной схеме включения;
– либо питание и одновременное измерение двух токовых сигналов датчиков обычного
исполнения, имеющих стандартный токовый выход 4…20 мА, по двухпроводной схеме
включения;
– либо одновременное измерение двух токовых сигналов датчиков обычного
исполнения, имеющих стандартный токовый выход 0…5 мА или 0…20 мА;
– формирование четырех стандартных программируемых токовых сигналов 0…5 мА, 0…20
мА или 4…20 мА (два выхода гальванически изолированные от общей шины и два
выхода неизолированные с программируемыми привязками) для работы с самописцами,
электропневмопреобразователями или другими исполнительными устройствами;
– управление поддержанием измеряемого параметра на заданной величине или в
определенных границах с помощью исполнительных устройств с токовым входом
(только для изолированных выходов, два независимых канала с программируемыми
привязками, позиционный или пропорциональный законы регулирования);
– считывание четырех дискретных сигналов типа «сухой контакт», поступающих от
сигнализаторов.
1.8 Условия эксплуатации и степень
защиты прибора
1.8.1 Номинальные значения климатических
факторов – согласно ГОСТ 15150 для вида климатического исполнения УХЛ4, тип
атмосферы II (промышленная).
1.8.2 Степень защиты оболочки прибора IP50
по ГОСТ 14254 (защита от пыли).
1.8.3 Прибор совместно с МИ/М и модулем
расширения соответствует требованиям ГОСТ Р 51330.10, имеет для выходных цепей
вид взрывозащиты «Искробезопасная цепь», уровень взрывозащиты «Взрывобезопасный»
для взрывоопасных смесей группы IIB по ГОСТ Р 51330.11, маркировку взрывозащиты
«[Ехib]IIB» и может применяться вне взрывоопасных зон помещений и наружной
установки согласно требованиям главы 7.3 ПУЭ (шестое изда ние) и других
нормативно–технических документов, регламентирующих применение оборудования во
взрывоопасных зонах.
2 Технические данные
2.1 Метрологические характеристики
измеряемых параметров определяются датчиками (КСМ), подключенными к прибору.
2.2 ЖКИ со светодиодной подсветкой
имеет две строки по 20 знакомест (матрица 5х7 точек, размер символа 6,0х9,66 мм)
и обеспечивает вывод алфавитно–цифровой информации.
2.3 Прибор имеет четыре единичных
светодиодных индикатора, индицирующих текущее состояние ключей, и
пьезоэлектрический звонок для сигнализации различных ситуаций, возникающих в
процессе его работы.
2.4 Для программирования прибора
пользователю предоставляется 16–кнопочная клавиатура.
2.5 Характеристики базового блока
прибора:
– тактовая частота модуля процессора МП5М – 24 МГц;
– объем ОЗУ – 8 Кбайт;
– объем энергонезависимой памяти программ и данных – 128 Кбайт;
– энергонезависимые часы реального времени;
– число подключаемых датчиков или КСМ – два;
– соединитель для подключения модуля интерфейса МИ/М;
– соединитель для подключения модуля расширения (МСД, МТС1 или МТС2).
2.6 Питание датчиков осуществляется
искробезопасным постоянным напряжением с параметрами UО ≤12 B, IО
≤ 80 мА. Связь с датчиками (КСМ) осуществляется с
помощью экранированного четырехпроводного кабеля. Нормальное функционирование
обеспечивается при длине соединительного кабеля между базовым блоком и датчиками
(КСМ) не более 1,5 км. Разрешается применение экранированных контрольных кабелей
со следующими параметрами: RКАБ ≤100 Ом, СКАБ ≤
0,1 мкФ, LКАБ ≤ 2 мГн.
2.7 Предельные параметры ключей
прибора на активной нагрузке:
– коммутируемое напряжение постоянного или переменного тока не более 250 В;
– допустимый ток коммутации ключа не более 1 А;
– сопротивление ключа в замкнутом состоянии не более 1,2 Ом.
2.8 Характеристики модуля
интерфейса МИ/М:
– изолированный интерфейс RS–232/RS–422/RS–485 (выбор типа интерфейса
осуществляется пользователем);
– скорость передачи до 19200 бит/с;
– программируемый контроль четности;
– логический протокол – Modbus RTU.
2.9 Характеристики модуля
сопряжения с датчиками МСД
2.9.1 Число подключаемых датчиков или КСМ
– шесть.
2.9.2 Питание датчиков осуществляется
искробезопасным постоянным напряжением с параметрами UО ≤12 B, IО
≤ 80 мА. Связь модуля с датчиками (КСМ)
осуществляется с помощью экранированного четырехпроводного кабеля. Нормальное
функционирование модуля обеспечивается при длине соединительного кабеля между
модулем и датчиками (КСМ) не более 1,5 км. Разрешается применение экранированных
контрольных кабелей со следующими параметрами: RКАБ ≤100 Ом, СКАБ
≤ 0,1 мкФ, LКАБ ≤ 2
мГн.
2.10 Характеристики модуля токовых
сигналов МТС1
2.10.1 Приведенная основная погрешность
выходных токовых сигналов для изолированных выходов – не более ± 0,2 %, для
неизолированных выходов – не более ± 3 %.
2.10.2 Выходные токовые сигналы 0…5 мА
обеспечиваются модулем на нагрузке не более 2 кОм, а 0…20 мА и 4…20 мА – на
нагрузке не более 300 Ом.
2.10.3 Дискретные входы модуля
предназначены для обслуживания сигналов типа «сухой контакт» и имеют входное
сопротивление не менее 10 кОм. Минимальная длительность обнаруживаемого сигнала
составляет 1 мс.
2.11 Характеристики модуля токовых
сигналов МТС2
2.11.1 Число изолированных токовых входов
– два.
2.11.2 При подключении взрывозащищенных
датчиков с выходным токовым сигналом 4…20 мА по двухпроводной схеме модуль
обеспечивает для каждого датчика искробезопасное изолированное питание с
параметрами UО ≤ 24 B, IО ≤
40 мА. Одновременное подключение взрывозащищенного датчика и датчика
обычного исполнения не допускается.
2.11.3 Приведенная основная погрешность
преобразования входного токового сигнала
– ± 0,2 %.
2.11.4 Приведенная основная погрешность
выходных токовых сигналов для изолированных выходов – не более ± 0,2 %, для
неизолированных выходов – не более ± 3 %.
2.11.5 Выходные токовые сигналы 0…5 мА
обеспечиваются модулем на нагрузке не более 2 кОм, а 0…20 мА и 4…20 мА – на
нагрузке не более 300 Ом.
2.11.6 Дискретные входы модуля
предназначены для обслуживания сигналов типа «сухой контакт» и имеют входное
сопротивление не менее 10 кОм. Минимальная длительность обнаруживаемого сигнала
составляет 1 мс.
2.12 Электрические параметры и
характеристики
2.12.1 Питание прибора осуществляется от
сети переменного тока напряжением от 180 до 242 В, частотой (50 ± 1) Гц.
2.12.2 Мощность, потребляемая прибором от
сети, не превышает 25 В·А.
2.12.3 По степени защиты от поражения
электрическим током прибор относится к классу защиты I в соответствии с
требованиями ГОСТ 12.2.007.0.
2.12.4 Электрическая изоляция между цепью
питания и металлическими частями прибора выдерживает без пробоя и поверхностного
перекрытия испытательное напряжение ~1500 В, 50 Гц в нормальных условиях
применения.
2.12.5 Все программируемые параметры и
константы запоминаются в энергонезависимой памяти прибора и сохраняются при
отключении питания. Часы реального времени, имеющиеся в приборе, также
энергонезависимы.
2.12.6 Время установления рабочего режима:
– после кратковременного отключения питания – не более 30 с;
– после длительного отключения питания – на более трех минут.
2.12.7 Прибор предназначен для непрерывной
работы.
2.13 Надежность
2.13.1 Средняя наработка на отказ прибора
с учетом технического обслуживания составляет 40000 ч.
2.13.2 Срок службы прибора составляет 12
лет.
3 Общее устройство и принцип работы
прибора
3.1 Контроллер микропроцессорный
ГАММА7М состоит из базового блока и, в зависимости от исполнения, модуля
интерфейса МИ/М и модуля расширения (МСД, МТС1 или МТС2).
Базовый блок включает в свой состав блок
питания БП6, ячейку индикации ЯИ4, модуль процессора МП5М и корпус.
Блок питания вырабатывает напряжения,
необходимые для работы остальных узлов прибора, и содержит узлы сопряжения с
датчиками или КСМ, которые могут подключаться к базовому блоку.
Ячейка индикации самостоятельно опрашивает
клавиатуру, выдавая в модуль процес сора информацию о нажатии той или иной
клавиши. По командам МП5М ЯИ4 обеспечивает выдачу на ЖКИ значений контролируемых
параметров и служебных сообщений.
Кроме того, на ячейке индикации
расположены светодиоды, индицирующие текущее состояние ключей прибора, и
пьезоэлектрический звонок для формирования звуковых сообщений, а также разъемы,
с помощью которых коммутируются остальные блоки прибора.
Модуль процессора является центральным
узлом прибора. В его задачи входит диагностика и управление работой ячейки
индикации, диагностика, программирование и управление работой модуля интерфейса
и модуля расширения, управление ключами, хранение настроечной информации при
отключении питания прибора, а также связь с датчиками (КСМ), подключаемыми к
базовому блоку.
Модуль интерфейса МИ/М и модуль расширения
предназначены для наращивания функциональных возможностей прибора.
Модуль интерфейса МИ/М осуществляет связь
прибора с ЭВМ верхнего уровня по одному из стандартных интерфейсов в формате
протокола Modbus, что позволяет интегрировать прибор в состав АСУ ТП.
Модуль сопряжения с датчиками МСД
предназначен для подключения к прибору еще шести датчиков или КСМ.
Модули токовых сигналов МТС1 и МТС2
позволяют выполнять прибором функции регулятора (МТС1 для датчиков типа
ДУУ2М, ДТМ2 или ДИД1, МТС2 для датчиков типа ДУУ2М, ДТМ2, ДИД1, ДИД2 и датчиков
со стандартным выходным токовым сигналом).
3.2 Прибор выполнен в металлическом
корпусе. Внутри корпуса закреплена ячейка индикации, выполняющая одновременно
функции кроссплаты. Блок питания БП6, модуль процессора МП5М и один из модулей
расширения (МСД, МТС1 или МТС2) вставляются по направляющим с задней стороны
прибора во врубные разъемы ячейки индикации. Данные узлы представляют собой
печатные платы, имеющие с одной стороны разъем связи с ячейкой индикации, а с
другой стороны разъемы связи с внешними устройствами (датчиками, самописцами и
т.п.). Этой же стороной плата крепится к металлической панели, обеспечивающей
фиксацию узла в корпусе прибора и предохраняющей прибор от проникновения
посторонних предметов.
Модуль интерфейса МИ/М, при его наличии в
составе прибора, устанавливается в разъемы, имеющиеся на модуле процессора МП5М,
и фиксируется с помощью пластмассовых защелок.
Передняя часть прибора закрыта панелью с
декоративным шильдиком. Панель имеет пазы для ЖКИ и клавиатуры, а также
резьбовые отверстия с невыпадающими винтами, предназначенными для установки
прибора на щит потребителя.
Сетевой выключатель, кабель питания и
клемма защитного заземления прибора расположены сзади на панели блока питания
БП6.
4 Комплектность поставки
4.1 В комплект поставки прибора
исполнения 0 входят:
– контроллер микропроцессорный ГАММА–7М УНКР.466514.010 – 1 шт.;
– паспорт УНКР.466514.010
ПС – 1 шт.;
– руководство по эксплуатации УНКР.466514.010 РЭ – 1
шт.;
– руководство оператора УНКР.466514.010 РО
– 1 шт.;
– жгут УНКР.685622.008 (для подключения датчиков к прибору) – 1 шт.;
– розетка кабельная DB–15F с кожухом
(для подключения устройств сигнализации к прибору) – 1
шт.;
– тара транспортная
УНКР.321312.017 – 1 шт.
4.2 В комплект поставки прибора
исполнения 1 дополнительно к исполнению 0 входят:
– руководство программиста УНКР.466514.010 РП –
1 шт.;
– розетка кабельная DB–9F с кожухом
(для подключения ЭВМ верхнего уровня к
МИ/М) – 1 шт.
4.3 В комплект поставки прибора
исполнения 2 дополнительно к исполнению 0 входит:
– жгут УНКР.685622.007(для подключения датчиков к модулю МСД) – 1 шт.
4.4 В комплект поставки прибора
исполнения 3 дополнительно к исполнению 0 входят:
– руководство программиста УНКР.466514.010
РП – 1 шт.;
– жгут УНКР.685622.007 (для подключения датчиков к модулю
МСД) – 1 шт.;
– розетка кабельная DB–9F с кожухом
(для подключения ЭВМ верхнего уровня к
МИ/М) – 1 шт.
4.5 В комплект поставки прибора
исполнения 4 дополнительно к исполнению 0 входят:
– методика поверки УНКР.466514.010
МП – 1 шт.;
– вилка кабельная DB–15M с кожухом (для подключения
к МТС1 устройств с токовыми входами и дискретных сигналов) – 1 шт.
4.6 В комплект поставки прибора
исполнения 5 дополнительно к исполнению 0 входят:
– методика поверки УНКР.466514.010
МП – 1 шт.;
– руководство программиста УНКР.466514.010 РП –
1 шт.;
– вилка кабельная DB–15M с кожухом (для подключения
к МТС1 устройств с токовыми входами и дискретных сигналов) – 1 шт.;
– розетка кабельная DB–9F с кожухом
(для подключения ЭВМ верхнего уровня к МИ/М) –
1 шт.
4.7 В комплект поставки прибора
исполнения 6 дополнительно к исполнению 0 входят:
– методика поверки УНКР.466514.010
МП – 1 шт.;
– вилка кабельная DB–9M с кожухом
(для подключения к МТС2 датчиков с токовыми выходами) – 1 шт.;
– вилка кабельная DB–15M с кожухом (для подключения
к МТС2 устройств с токовыми входами и дискретных сигналов) – 1 шт.
4.8 В комплект поставки прибора
исполнения 7 дополнительно к исполнению 0 входят:
– методика поверки УНКР.466514.010
МП – 1 шт.;
– руководство программиста УНКР.466514.010 РП –
1 шт.;
– вилка кабельная DB–9M с кожухом
(для подключения к МТС2 датчиков с токовыми выходами) – 1 шт.;
– вилка кабельная DB–15M с кожухом (для подключения
к МТС2 устройств с токовыми входами и дискретных сигналов) – 1 шт.;
– розетка кабельная DB–9F с кожухом
(для подключения ЭВМ верхнего уровня к МИ/М) –
1 шт.
4.9 В комплект поставки прибора
исполнения 8 дополнительно к исполнению 0 входят:
– руководство программиста УНКР.466514.010 РП –
1 шт.;
– розетка кабельная DB–9F с кожухом
(для подключения ЭВМ верхнего уровня к МИ/М) –
1 шт.
4.10 В комплект поставки прибора
исполнения 9 дополнительно к исполнению 0 входят:
– руководство программиста УНКР.466514.010 РП –
1 шт.;
– жгут УНКР.685622.007(для подключения КСМ к модулю МСД) – 1 шт.;
– розетка кабельная DB–9F с кожухом
(для подключения ЭВМ верхнего уровня к МИ/М)
– 1 шт.
Примечания
1 Для исполнений прибора от 0 до 7
поставляется руководство оператора УНКР.466514.010–2ХХ РО, для исполнений
прибора 8 и 9 поставляется руководство оператора УНКР.466514.010–3ХХ РО, где ХХ
– номер текущей версии ПО прибора.
2 Для исполнений прибора 1, 3, 5, 7
поставляется руководство программиста УНКР.466514.010–2ХХ РП, для исполнений
прибора 8 и 9 поставляется руководство программи ста УНКР.466514.010–3ХХ РП, где
ХХ – номер текущей версии ПО прибора.
5 Габаритные размеры и масса
5.1 Габаритные размеры прибора
приведены на рисунке III.1.1.
5.2 Масса прибора не более 3,5 кг.
6 Установка прибора
6.1 Прибор устанавливается в
помещении с искусственным освещением для обеспечения возможности круглосуточной
работы. Установка прибора производится на щит потребителя. В месте установки
прибора необходимо наличие розетки для подключения прибора к сети питания и
заземляющего контура.
6.2 Сведения по установке даны в
руководстве по эксплуатации УНКР.466514.010 РЭ.
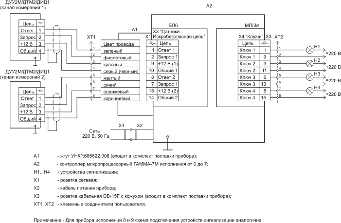
6.3 Схема подключения к базовому
блоку прибора датчиков ДУУ2М, ДТМ2 или ДИД1 и устройств сигнализации дана на
рисунке III.1.2. Схемы подключения всех датчиков и устройств к базовому блоку
прибора, а также к модулю сопряжения МСД, модулям токовых сигналов МТС1 и МТС2
даны в руководстве по эксплуатации УНКР.466514.010 РЭ.
7 Дополнительная информация
7.1 Подробно сведения по
техническим характеристикам, принципу действия, подготовке к работе и порядке
работы с прибором даны в руководстве по эксплуатации УНКР.466514.010 РЭ.
7.2 Руководство по эксплуатации в
электронном виде размещено на прилагаемом к настоящему каталогу СD-диске.

Рисунок III.1.1 Внешний вид и
габаритные размеры прибора (на примере исполнения 7)

Рисунок III.1.2 Схема подключения к
базовому блоку прибора датчиков ДУУ2М, ДТМ2 или ДИД1 и устройств сигнализации
|